lemon-mirror:
Home >> Volkswagen >> 1982 >> Vanagon F4-1970cc 2.0L >> Repair and Diagnosis >> Powertrain Management >> Computers and Control Systems >> Testing and Inspection >> Fuel Pressure, Checking >> Checking Operating Pressures

Checking Operating Pressures



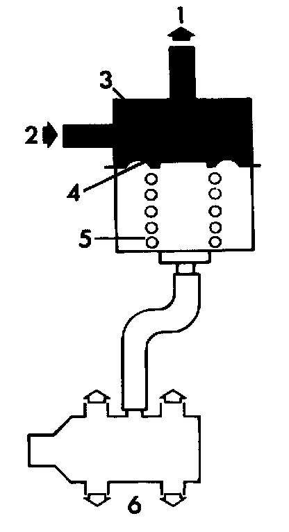
Checking Pressure Regulator






1 = Return Line
2 = From Fuel Pump
3 = Fuel Pressure Chamber
4 = Diaphragm
5 = Spring
6 = Intake Air Distributor

Note: Pressure regulator controls fuel pressure depending on intake vacuum

WARNING: Fire hazard. Do not smoke or have anything in area that can ignite fuel.

- Connect gauge US 1078 to fuel ring main
- Disconnect vacuum hose between intake air distributor and pressure regulator

- Start engine and run at idle
Pressure should be: 2.5 bar (36 psi)

- Reconnect vacuum hose
Pressure (at idle) must drop to approx. 2.0 bar (29 psi)

If pressure too low, check fuel pump delivery rate
If pressure too high, check return line
If readings still incorrect, replace pressure regulator