lemon-mirror:
Home >> Toyota >> 2012 >> Matrix FWD L4-2.4L (2AZ-FE) >> Repair and Diagnosis >> Powertrain Management >> Ignition System >> Spark Plug >> Service and Repair >> Installation

Installation





2AZ-FE ENGINE CONTROL: IGNITION COIL AND SPARK PLUG: INSTALLATION

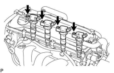
1. INSTALL SPARK PLUG

(a) Install the 4 spark plugs.





Torque : 19 Nm (194 kgf-cm, 14 ft-lbf)

2. INSTALL IGNITION COIL ASSEMBLY

(a) Install the 4 ignition coils with the 4 bolts.





Torque : 9.0 Nm (92 kgf-cm, 80 in-lbf)

(b) Connect the 4 ignition coil connectors.





3. INSTALL NO. 1 ENGINE COVER SUB-ASSEMBLY Installation