lemon-mirror:
Home >> Suzuki >> 2012 >> SX4 2WD L4-2.0L >> Repair and Diagnosis >> Starting and Charging >> Starting System >> Keyless Starting System >> Keyless Start Control Module >> Testing and Inspection >> Inspection of Keyless Start Control Module and Its Circuits

Inspection of Keyless Start Control Module and Its Circuits




Inspection of Keyless Start Control Module and Its Circuits

Keyless start control module and its circuits can be checked at keyless start control module wiring couplers by measuring voltage and resistance.

NOTE:

If you connect a voltmeter or ohmmeter directly to the keyless start control module by disconnecting the keyless start control module connector, you can damage the keyless start control module.

Never connect a voltmeter or an ohmmeter directly to any terminal on the keyless start control module by disconnecting the keyless start control module connector.

Voltage Check

1) Disconnect negative cable (-) at battery.
2) Remove keyless start control module from vehicle body referring to Service and Repair Keyless Start Control Module Removal and Installation.
3) Connect connector to keyless start control module.
4) Check voltage at each terminal number of couplers connected.

NOTE:
- As each terminal voltage is affected by the battery voltage, confirm that it is 11 V or more when ignition switch is ON.
- Voltage with asterisk (*) cannot be measured by voltmeter because it is pulse signal.



















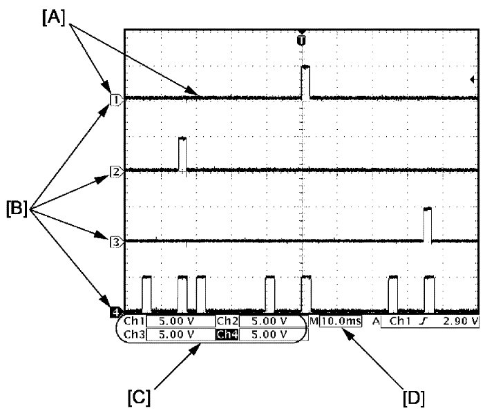
Reference Waveform

NOTE:

- Waveform analysis is as follows.











- Waveform might change for measurement condition and vehicle spec.

Reference waveform No. 1

Driver, passenger and rear end door / trunk lid antenna request signals (Request signal (1) transmitted by each door antenna when each door request switch is pushed)











Reference waveform No. 2

Center antenna signal

(Request signal (1) transmitted by center antenna when each door request switch is pushed)











Reference waveform No. 3

Luggage room / trunk room antenna signal

(Request signal (1) transmitted by luggage room / trunk room antenna when each door request switch is pushed)











Reference waveform No. 4

CAN communication signals

(CAN signal communicated to each control module when ignition switch is turned ON)
















Reference waveform No. 5

Steering lock unit signal

(Signal (1) communicated between keyless start control module and steering lock unit when measurement condition described below applies)











Reference waveform No. 6

Driver side and passenger side door lock switch signals

(Signal (1) indicating door lock switch status which keyless start control module receives from BCM)