lemon-mirror:
Home >> Suzuki >> 2012 >> SX4 2WD L4-2.0L >> Repair and Diagnosis >> Specifications >> Mechanical Specifications >> Fastener Information

Fastener Information




Fasteners Information

Metric Fasteners

Most of the fasteners used for this vehicle are JIS-defined and ISO-defined metric fasteners. When replacing any fasteners, it is most important that replacement fasteners be the correct diameter, thread pitch and strength.

NOTE:

Combining male and female fasteners with different thread pitches will damage both fasteners.

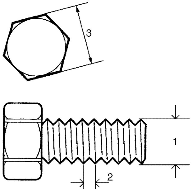
It is important to note that, even when the nominal diameter (1) of the threads is the same, JIS-defined and ISO-defined fasteners may be different in thread pitch (2) or width across flats (3). Refer to the JIS-to-ISO Main Fasteners Comparison Table below for these differences. Before installing a fastener, check it for correct thread pitch and then, screw it in or on the mating fastener by hand. If the fastener is too tight to turn by hand, its thread pitch may be different from that of the mating fastener.

JIS-TO-ISO Main Fasteners Comparison Table











Fastener Strength Identification

Most commonly used metric fastener strength property classes are 4T, 6.8, 7T, 8.8 and radial line with the class identification embossed on the head of each bolt. Some metric nuts will be marked with punch, 6 or 8 mark strength identification on the nut face. Figure shows the different strength markings.

When replacing metric fasteners, be careful to use bolts and nuts of the same strength or greater than the original fasteners (the same number marking or higher). It is likewise important to select replacement fasteners of the correct diameter and thread pitch. Correct replacement bolts and nuts are available through the parts division.

Metric bolts: Identification class numbers or marks correspond to bolt strength (increasing numbers represent increasing strength).










Standard Tightening Torque

Each fastener should be tightened to the torque specified in each section. If no description or specification is provided, refer to the following tightening torque chart for the applicable torque for each fastener. When a fastener of greater strength than the original one is used, however, use the torque specified for the original fastener.

NOTE:

- For the flanged bolt, flanged nut and self-lock nut of 4T and 7T strength, add 10% to the tightening torque given in the following chart.
- The following chart is applicable only where the fastened parts are made of steel light alloy.

Tightening torque chart













*:Self-lock nut