lemon-mirror:
Home >> Suzuki >> 2012 >> SX4 2WD L4-2.0L >> Repair and Diagnosis >> Specifications >> Mechanical Specifications >> Engine >> Cylinder Head Assembly

Cylinder Head Assembly




Cylinder Head

Cylinder Head No.1 Bolts

Tighten to 20 Nm (2.0 kgf-m, 15.0 lbf-ft)
in numerical order ("1" - "10") evenly and gradually.

In the same manner,
retighten to 40 Nm (4.1 kgf-m, 29.5 lbf-ft).
retighten to 60°.
retighten to 80°.

Tightening torque
Cylinder head No.1 bolt * (a): (20 Nm -> 40 Nm -> +60� -> +80� (2.0 kgf-m -> 4.1 kgf-m -> +60� -> +80�, 15.0 lbf-ft -> 29.5 lbf-ft -> +60� ->+80�))

Cylinder Head No.2 Bolt (2)

Tightening torque
Cylinder head No.2 bolt (b): 25 Nm (2.5 kgf-m, 18.5 lbf-ft)








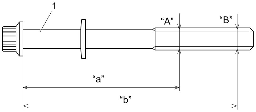
Cylinder Head No.1 Bolt Inspection

Cylinder head No.1 bolt diameter measurement points
"a": 95.0 mm (3.74 in.)
"b": 130.0 mm (5.12 in.)

Cylinder head No.1 bolt diameter difference (deformation)
Limit (A - B): 0.25 mm (0.0098 in.)
















Cylinder Head Inspection

Distortion of mating surface of cylinder head and cylinder head gasket
Limit: 0.03 mm (0.0011 in.)









Distortion of seating face of intake manifold and exhaust manifold on cylinder head
Limit: 0.05 mm (0.0019 in.)












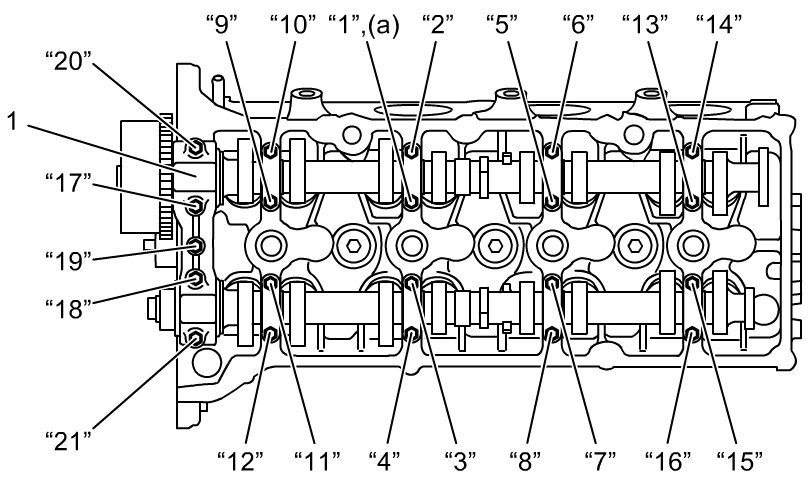
Camshaft Housing Bolts

Install camshaft housing No.1 (1).
Install camshaft housing bolts, and tighten them by hand.
Tighten camshaft housing bolts in numerical order ("1" - "21") evenly and gradually.

Tightening torque
Camshaft housing bolt* 11 Nm (1.1 kgf-m, 8.5 lbf-ft)






Exhaust Manifold Specifications

Camshaft Gear/Sprocket Specifications