lemon-mirror:
Home >> Suzuki >> 2012 >> SX4 2WD L4-2.0L >> Repair and Diagnosis >> Specifications >> Mechanical Specifications >> Alignment

Alignment








Wheel Alignment Specifications

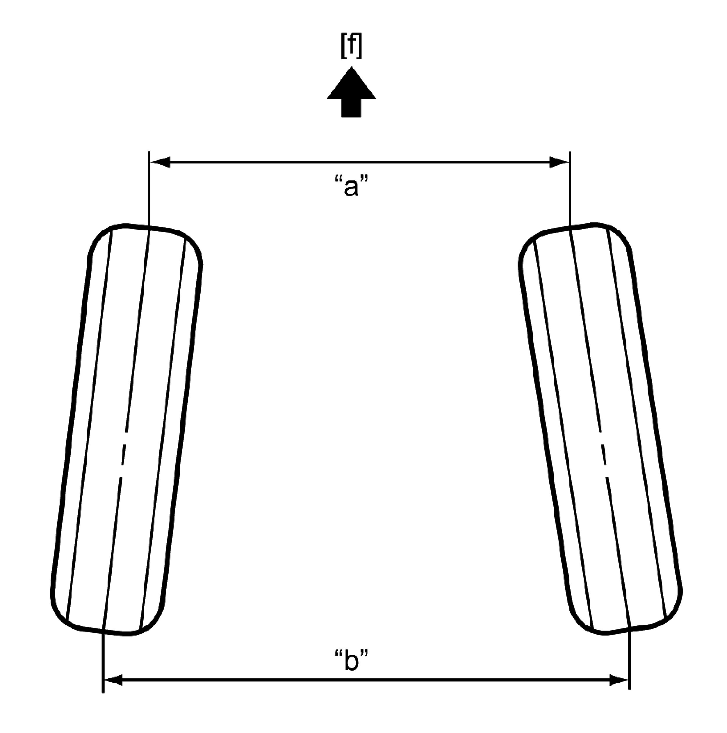
F: Forward:





Front Suspension

Front Toe (Total)
"b" - "a": IN 1.0 ± 1.0 mm (0.0393 ± 0.0393 in.)

Side Slip
One person in vehicle: IN 3.0 to 0 mm/m (IN 0.118 to 0 in./3.3 ft)

Front Toe Angle (Each wheel)
Other than 17 inch wheel model: IN 1' ± 2'
17 inch wheel model: IN 3' ± 2'





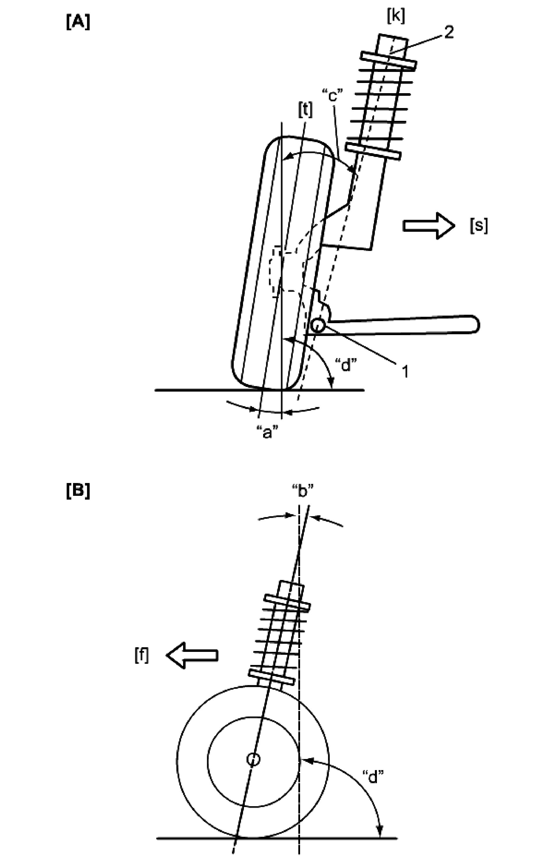
[A]: Camber (Front view)
[B]: Caster (Side view)
[f]: Forward
[k]: Center line of kingpin
[s]: Vehicle body center
[t]: Center line of wheel
1. Suspension arm joint
2. Strut support
"d": 90°

Front Camber "a"
Other than 17 inch wheel model: -10' ± 1°
17 inch wheel model: -17' ± 1°

Front Caster "b"
Other than 17 inch wheel model: 3°40' ± 2°
17 inch wheel model: 3°46' ± 2°

Kingpin Inclination Angle "c"
Other than 17 inch wheel model: 12°17' ± 2°
17 inch wheel model: 12°31' ± 2°

NOTE:
Camber, caster and kingpin inclination angle are not adjustable. If they are out of specification, check vehicle body or replace related part.

Steering Angle
Inside:
Other than 17 inch wheel model: 36° ± 2°
17 inch wheel model: 35°42' ± 2°
Outside:
Other than 17 inch wheel model: 32°6' (Reference)
17 inch wheel model: 31°54' (Reference)

Rear Suspension

Rear Toe (Total)
: IN 5.0 ± 5.0 mm (IN 0.1968 ± 0.1968 in.)
Rear Camber
: -1° ± 1°
Rear Toe Angle (Each wheel)
: IN 17' ± 17'

NOTE:
The rear suspension is not an adjustable structure.