lemon-mirror:
Home >> Suzuki >> 2012 >> SX4 2WD L4-2.0L >> Repair and Diagnosis >> Powertrain Management >> Computers and Control Systems >> Main Relay (Computer/Fuel System) >> Testing and Inspection

Main Relay (Computer/Fuel System): Testing and Inspection




Engine and Emission Control System Relay Inspection

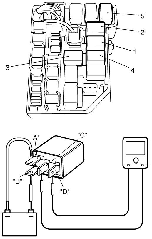
Main, Fuel Pump, Starting Motor Control, Throttle Actuator Control and Radiator Cooling Fan Relays

1) Disconnect negative cable at battery.
2) Remove main relay (1), fuel pump relay (3), starting motor control relay (2), throttle actuator control relay (4) and/or radiator cooling fan relay (5) from individual circuit fuse box No.1.
3) Check that there is no continuity between terminal "C" and "D". If there is continuity, replace relay.
4) Connect battery positive (+) terminal to terminal "B" of relay. Connect battery negative (-) terminal to terminal "A" of relay. Check for continuity between terminal "C" and "D". If there is no continuity when relay is connected to the battery, replace relay.