lemon-mirror:
Home >> Suzuki >> 2012 >> SX4 2WD L4-2.0L >> Repair and Diagnosis >> Maintenance >> Alignment >> Testing and Inspection

Alignment: Testing and Inspection




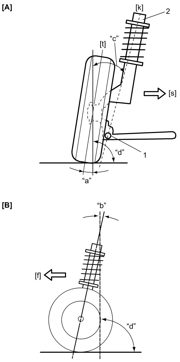
Camber, Caster and Kingpin Inclination Angle Inspection

Check camber, caster and kingpin inclination angle by camber caster kingpin gauge (1) and turning radius gauge (2). If measured value is out of specified value, check following items for damage, deformation and crack. If any faulty condition is found, repair or replace defective item.

- Strut and component
- Suspension arm and bush
- Suspension frame
- Wheel hub, steering knuckle or wheel bearing
- Vehicle body






Front camber
"a"
Other than 17 inch wheel model: -10' +/- 1�
17 inch wheel model: -17' +/- 1�

Front caster
"b"
Other than 17 inch wheel model: 3�40' +/- 2�
17 inch wheel model: 3�46' +/- 2�

Kingpin inclination angle
"c"
Other than 17 inch wheel model: 12�17' +/- 2�
17 inch wheel model: 12�31' +/- 2�

NOTE:

Camber, caster and kingpin inclination angle are not adjustable. If they are out of specification, check vehicle body or replace related part.