lemon-mirror:
Home >> Suzuki >> 2012 >> SX4 2WD L4-2.0L >> Repair and Diagnosis >> Body and Frame >> Locks >> Keyless Entry >> Keyless Entry Transmitter >> Testing and Inspection

Keyless Entry Transmitter: Testing and Inspection




Programming Transmitter Code for Keyless Entry System (Other than Keyless Start Model)

NOTE:

- Three transmitter codes can be registered.
- When a new transmitter code is registered, the oldest one will be cleared.
- For keyless start model, perform Programming and Relearning Registration Procedure for Remote Controller ID Code
instead of "Programming Transmitter Code for Keyless Entry System (Other than Keyless Start Model)".


If transmitter or BCM is replaced or additional transmitter(s) is necessary, program transmitter code(s).
1) Confirm that all doors are closed and ignition key is out of ignition key cylinder.
2) Open driver side door.
3) Turn ignition switch to ON position, and then drawn ignition key from ignition key cylinder within 10 seconds after that.
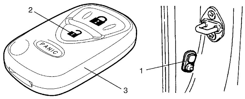
4) Push and release driver side door switch (1) at 3 times by hand within 20 seconds after removing ignition key from ignition key cylinder.
5) Turn ignition switch to ON position, and then drawn ignition key from ignition key cylinder within 10 seconds after that. All doors automatically lock and unlock once.

With this, registration mode.
6) Push "UNLOCK" button (2) on transmitter (3) within 20 seconds after Step 5). All doors automatically lock and unlock once.

With this, code registration is completed.
7) If an additional transmitter, needs to be programed repeat the procedure of Step 1).