lemon-mirror:
Home >> Suzuki >> 2012 >> Kizashi FWD L4-2.4L >> Repair and Diagnosis >> Specifications >> Mechanical Specifications >> Flywheel

Flywheel




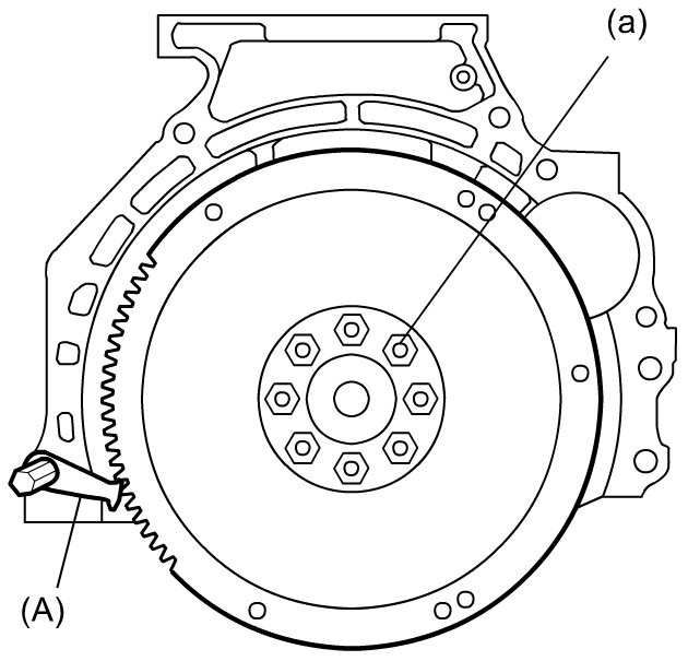
Flywheel / Drive Plate


- Tighten flywheel bolts or drive plate bolts to specified torque.

Tightening torque
Flywheel bolt (a): 70 Nm (7.1 kgf-m, 52.0 lbf-ft)
Drive plate bolt (a): 70 Nm (7.1 kgf-m, 52.0 lbf-ft)