lemon-mirror:
Home >> Suzuki >> 2012 >> Kizashi FWD L4-2.4L >> Repair and Diagnosis >> Powertrain Management >> Computers and Control Systems >> Fuel Level Sensor >> Service and Repair >> Fuel Level Sensor Inspection

Fuel Level Sensor Inspection




Fuel Level Sensor Inspection

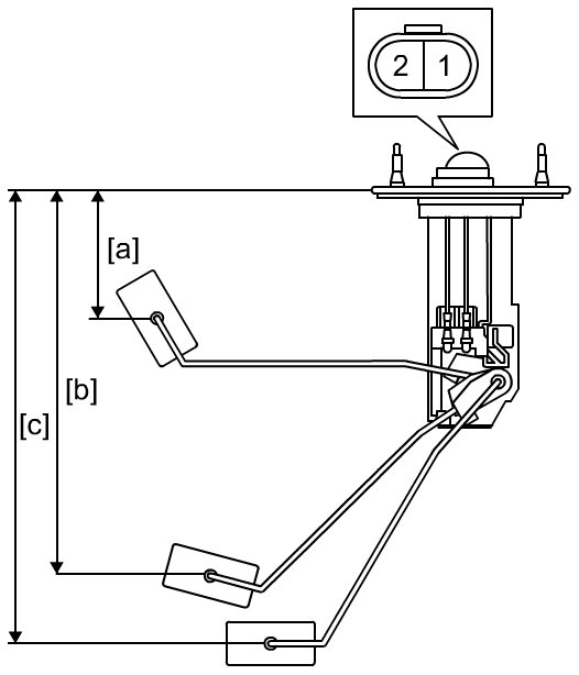
Main Fuel Level Sensor

Fuel Level Sensor Removal and Installation

Check resistance between terminals (1) and (2) at each float position [a], [b] and [c].

If measured resistance is out of specification, replace fuel level sensor.

Fuel level sensor resistance

Standard






2WD model





4WD model





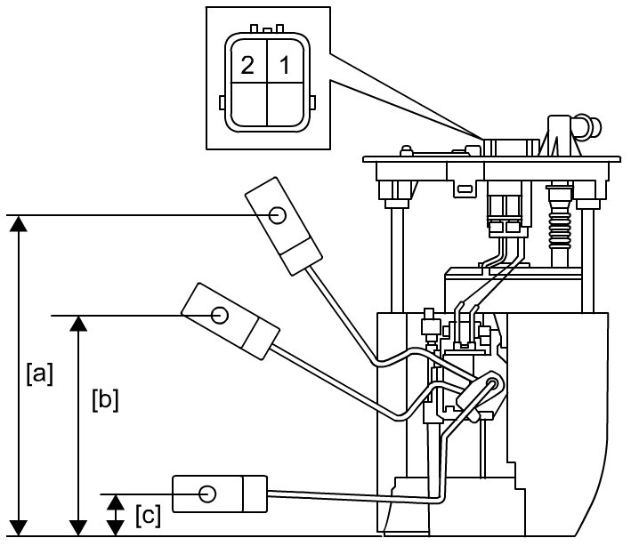
Sub Fuel Level Sensor (4WD Model)

Sub Fuel Level Sensor Removal and Installation (4WD Model)

Check resistance between terminals (1) and (2) at each float position [a], [b] and [c].

If measured resistance is out of specification, replace sub fuel level sensor.

Sub fuel level sensor resistance

Standard