lemon-mirror:
Home >> Suzuki >> 2012 >> Kizashi FWD L4-2.4L >> Repair and Diagnosis >> Powertrain Management >> Computers and Control Systems >> Engine Control Module >> Testing and Inspection >> Pinout Values and Diagnostic Parameters >> Part 1

Part 1




Inspection of ECM and Its Circuits

Precautions for Engine

NOTE:

- The connectors of the ECM are watertight. If tester probes are directly connected to any of the connectors when checking the ECM and its circuits, the watertight performance of the connector will be affected, possibly resulting in corrosion of connector terminals and damage to electrical circuits.
Always use the special tool when checking the ECM and its circuits. Connect tester probes only to the special tool's connectors.
- If you connect a voltmeter or an ohmmeter directly to control module terminals by removing control module connectors, you can damage the control module.
Never connect a voltmeter or an ohmmeter directly to any terminal of control module by disconnecting control module connectors.

Voltage and Signal Check

1) Remove ECM (1) from its bracket. Service and Repair
2) Connect special tool between ECM and ECM connectors securely.
Special Tool

(A): 09933-06330

3) Check voltage and/or pulse signal using voltmeter (2) and oscilloscope (3).

NOTE:
- Voltage with asterisk (*) cannot be measured with voltmeter because it is pulse signal. Use oscilloscope for its check if necessary.
- For "Ignition mode" described in the following table, it means power supply mode in keyless push start system.
For more details of ignition mode, refer to Description of Keyless Engine Start Function Description of Keyless Engine Start Function.














































Reference Waveform

Oscilloscope display

Shown below is typical waveform display provided by oscilloscope.

NOTE:

- Display includes the following types of data:











- Waveforms may vary with measurement conditions and vehicle specifications.

Fuel injector signal





Measurement condition

- Engine: Idle speed after warm-up











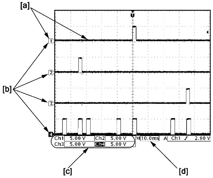
Fuel injector No.1 signal and ignition coil No.1 signal

Fuel injector No.1 signal (1):





Ignition coil No.1 signal (2):





CMP sensor signal (3):





CKP sensor signal (4):





Measurement condition

- Engine: Idle speed after warm-up











Fuel injector No.2 signal and ignition coil No.2 signal

Fuel injector No.2 signal (1):





Ignition coil No.2 signal (2):





CMP sensor signal (3):





CKP sensor signal (4):





Measurement condition

- Engine: Idle speed after warm-up











Fuel injector No.3 signal and ignition coil No.3 signal

Fuel injector No.3 signal (1):





Ignition coil No.3 signal (2):





CMP sensor signal (3):





CKP sensor signal (4):





Measurement condition

- Engine: Idle speed after warm-up