lemon-mirror:
Home >> Suzuki >> 2012 >> Kizashi FWD L4-2.4L >> Repair and Diagnosis >> Diagrams >> Exploded Views >> Cooling System

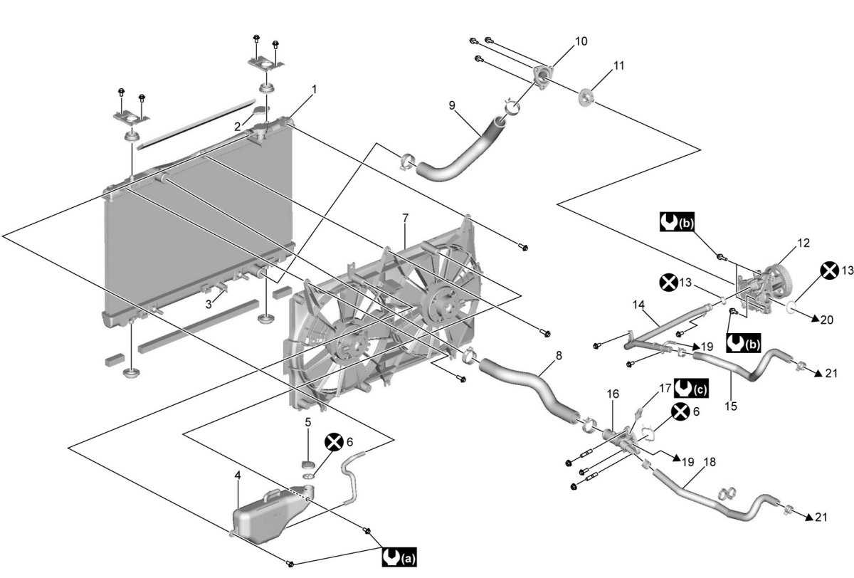
Cooling System




Cooling System Components