lemon-mirror:
Home >> Suzuki >> 2012 >> Grand Vitara 2WD L4-2.4L >> Repair and Diagnosis >> Maintenance >> Timing Component Alignment Marks >> Locations

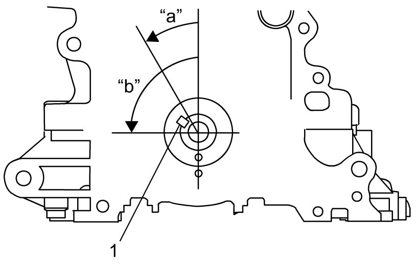
Timing Component Alignment Marks: Locations




Timing Component Alignment Marks