lemon-mirror:
Home >> Suzuki >> 2012 >> Equator 2WD L4-2.5L >> Repair and Diagnosis >> Windows and Glass >> Windows >> Power Window Switch >> Service and Repair >> Front Power Window Switch

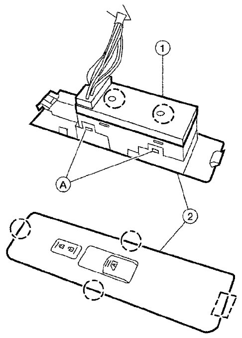
Front Power Window Switch




Front Power Window Switch: Removal and Installation

Removal

1) Using a suitable tool, release the metal clip and pawls, then lift upward the front power window/door lock switch and finisher (2) - RH as an assembly.





: Metal clip

: Pawl

CAUTION:
Wrap a cloth around suitable tool to protect components from damage.

2) Disconnect the harness connector.
3) Remove the front power window/door lock switch and finisher (2) - RH assembly from the front door finisher.
4) Release the four tabs (A), two on each side, then separate the front power window/door lock switch (1) - RH from the front power window/door lock switch finisher (2) - RH.

Installation

Installation is in the reverse order of removal.