lemon-mirror:
Home >> Suzuki >> 2012 >> Equator 2WD L4-2.5L >> Repair and Diagnosis >> Maintenance >> Fluids >> Refrigerant Oil >> Service and Repair

Refrigerant Oil: Service and Repair




Maintenance of Oil Quantity in Compressor

The oil in the compressor circulates through the system with the refrigerant. Add oil to compressor when replacing any component or after a large refrigerant leakage has occurred. It is important to maintain the specified amount.

If oil quantity is not maintained properly, the following malfunctions may result:

- Lack of oil: May lead to a seized compressor
- Excessive oil: Inadequate cooling (thermal exchange interference)

Oil

SUZUKI approved A/C System Oil Type R or equivalent

Checking and Adjusting

CAUTION:

- The use of any other refrigerant or oil will cause severe damage to the air conditioning system and will require the replacement of all air conditioner system components.
- If excessive oil leakage is noted, do not perform the oil return operation.

Start the engine and set the following conditions:

Test Condition

- Engine speed: Idling to 1,200 rpm
- A/C switch: On
- Blower fan speed: Max. position
- Temp. control: Optional [Set so that intake air temperature is 25° to 30 °C (77° to 86 °F)]
- Intake position: Recirculation ()
- Perform oil return operation for about ten minutes

Adjust the oil quantity according to the following table.

Oil Adjusting Procedure for Components Replacement Except Compressor

After replacing any of the following major components, add the correct amount of oil to the system.

Amount of Oil to be Added





*1: If refrigerant leak is small, no addition of oil is needed.

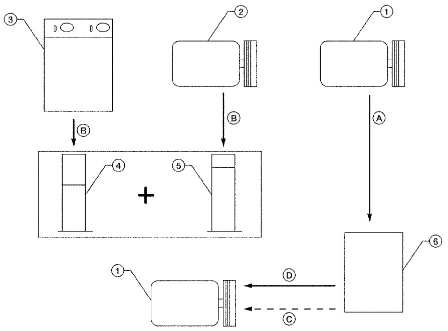
Oil Adjustment Procedure for Compressor Replacement










1) Before connecting recovery/recycling equipment to vehicle, check recovery/recycling equipment gauges. No refrigerant pressure should be displayed. If NG, recover refrigerant from equipment lines.
2) Connect recovery/recycling equipment to vehicle. Confirm refrigerant purity in supply tank using recovery/recycling equipment and refrigerant identifier. If NG, refer to [Precautions: Contaminated Refrigerant] Contaminated Refrigerant.
3) Confirm refrigerant purity in vehicle A/C system using recovery/recycling equipment and refrigerant identifier. If NG, refer to [Precautions: Contaminated Refrigerant] Contaminated Refrigerant.
4) Discharge refrigerant into the refrigerant recovery/recycling equipment. Measure oil discharged into the recovery/recycling equipment.
5) Drain the oil from the "old" (removed) compressor into a graduated container and recover the amount of oil drained.
6) Drain the oil from the "new" compressor into a separate, clean container.
7) Measure an amount of new oil installed equal to amount drained from "old" compressor. Add this oil to "new" compressor through the suction port opening.
8) Measure an amount of new oil equal to the amount recovered during discharging. Add this oil to "new" compressor through the suction port opening.
9) If the liquid tank also needs to be replaced, add an additional 5 m (0.2 US fl oz, 0.2 Imp fl oz) of oil at this time.

Do not add this 5 m (0.2 US fl oz, 0.2 Imp fl oz) of oil if only replacing the compressor.