lemon-mirror:
Home >> Suzuki >> 2011 >> SX4 2WD L4-2.0L >> Repair and Diagnosis >> Specifications >> Mechanical Specifications >> Engine >> Connecting Rod, Engine

Connecting Rod, Engine




Connecting rod

Tighten connecting rod bearing cap bolt (3) gradually.

a) Point arrow mark (2) on connecting rod bearing cap (1) to crankshaft pulley side.
b) Apply engine oil to bolt thread and seat of connecting rod bearing cap bolt.
c) Tighten all connecting rod bearing cap bolt to 15 Nm (1.5 kgf-m, 11.0 lbf-ft) evenly and gradually.
d) In the same manner as Step c), retighten them to 45°.
e) In the same manner as Step c), retighten them to 45°.

Tightening torque
Connecting rod bolt* (a) (15 Nm -> +45� -> +45� (1.5 kgf-m -> +45� -> +45�, 11.0 lbf-ft -> +45� -> +45�)










Big-end side clearance
Standard: 0.25 - 0.40 mm (0.0099 - 0.0157 in.)






Connecting rod alignment
Limit on bow: 0.05 mm (0.0019 in.)
Limit on twist: 0.10 mm (0.0039 in.)






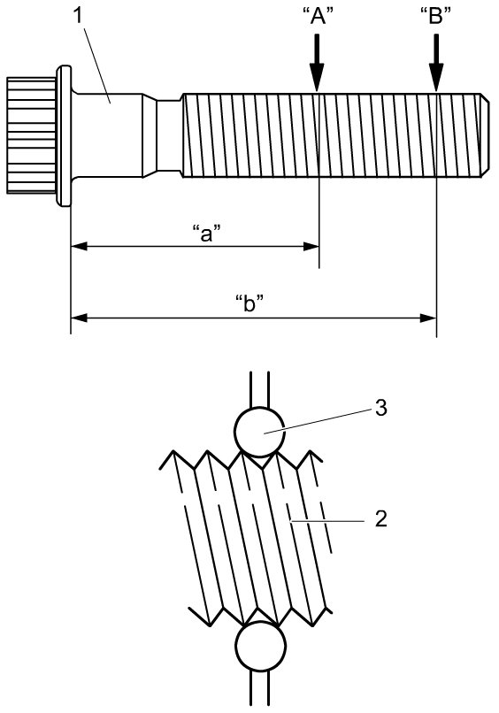
Connecting rod bolt measurement points
"a": 28.5 mm (1.12 in.)
"b": 42.0 mm (1.65 in.)

Connecting rod bolt diameter difference
Limit ("A" - "B"): 0.05 mm (0.0019 in.)










Piston pin clearance

Piston pin clearance in connecting rod small-end
Standard 0.003 - 0.016 mm (0.00012 - 0.00062 in.)
Limit 0.040 mm (0.0015 in.)

Piston pin clearance in piston
Standard 0.006 - 0.017 mm (0.00024 - 0.00066 in.)
Limit 0.05 mm (0.0019 in.)

Small-end bore 21.003 - 21.013 mm (0.82689 - 0.82728 in.)

Piston pin outside diameter 20.997 - 21.000 mm (0.82666 - 0.82677 in.)

Diameter of piston pin hole in piston 21.006 - 21.014 mm (0.82701 - 0.82732 in.)