lemon-mirror:
Home >> Suzuki >> 2010 >> SX4 2WD L4-2.0L >> Repair and Diagnosis >> Specifications >> Mechanical Specifications >> Engine >> Cylinder Block Assembly >> System Specifications

System Specifications

Cylinder block flatness limit 0.03 mm (0.001 in.)

Cylinder bore diameter
Standard





Cylinder bore diameter
Limit 84.050 mm (3.3268 in.)

Cylinder bore roundness ([3] - [4])
Limit 0.020 mm (0.00078 in.)

Cylinder bore taper ([1] - [2])
Limit 0.013 mm (0.00051 in.)








New piston diameter standard size





Piston diameter limit size





Piston clearance
Limit 0.12 mm (0.0047 in.)

Ring groove clearance





Piston ring end gap





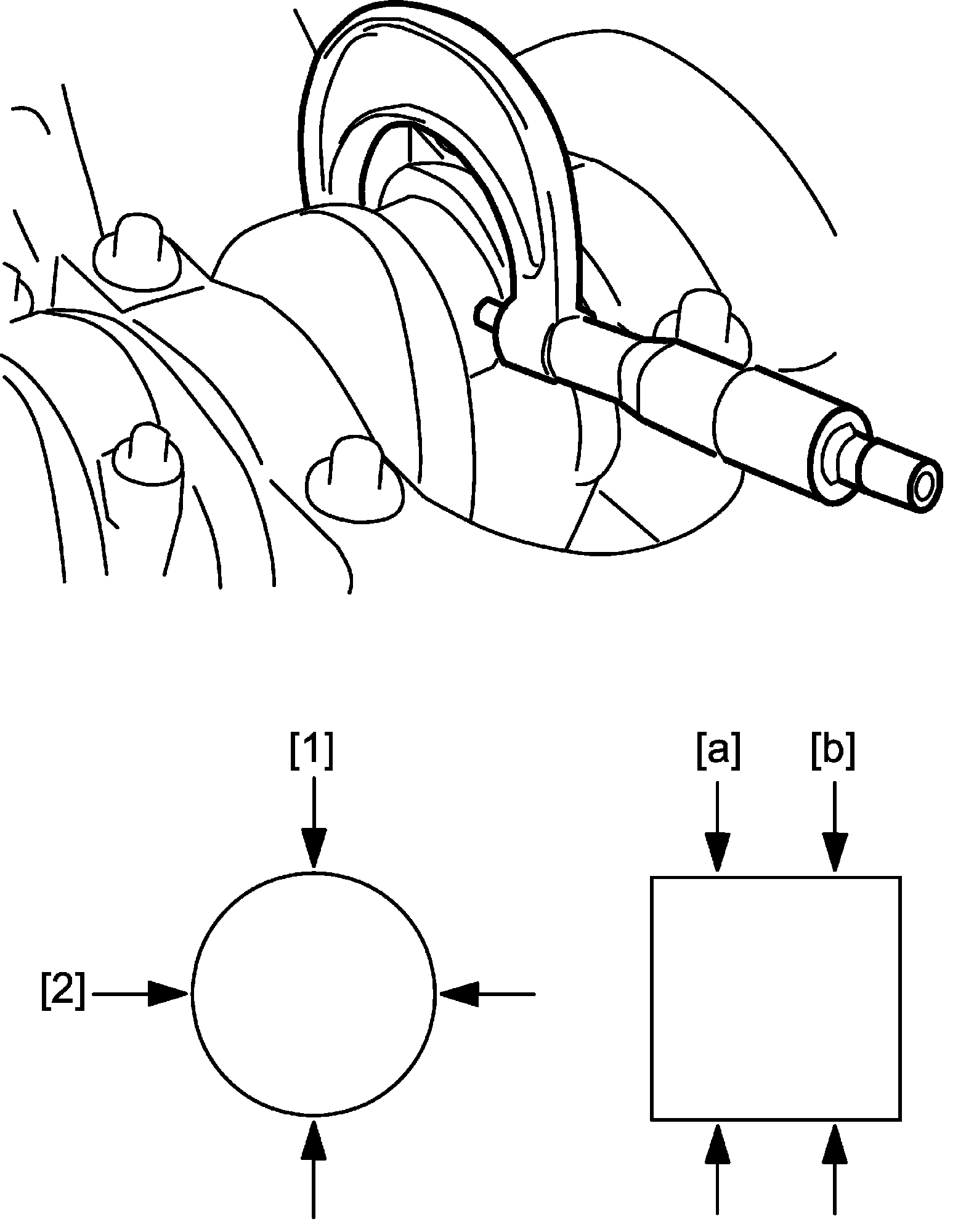
Crankshaft runout
Limit 0.02 mm (0.0007 in.)
Crankshaft thrust play
Standard0.10 - 0.35 mm (0.0040 - 0.0137 in.)
Thrust bearing thickness
Standard size 2.470 - 2.520 mm (0.0973 - 0.0992 in.)
Oversize (0.125 mm, 0.00492 in.) 2.533 - 2.583 mm (0.0998 - 0.1016 in.)
Crankshaft journal outside diameter
Standard 51.982- 52.000 mm (2.0466 - 2.0472 in)
Limit 51.972 mm (2.0461 in.)
Crankshaft out-of-round and taper
Limit 0.01 mm (0.0003 in.)
Crankshaft pin diameter
Standard 49.982 - 50.000 mm (1.96780 - 1.96850 in)
Crankshaft pin taper ([a] -[b]) and out-of-round ([1] - [2])
Limit 0.01 mm (0.0003 in.)





Main bearing clearance
Standard 0.022 - 0.034 mm (0-00087 - 0.00133 in.)
Limit 0.050 mm (0.00196 in.)
Standard size crankshaft main bearing thickness





Main bearing cross - reference selection table (standard size)





Undersize of crankshaft main bearing thickness





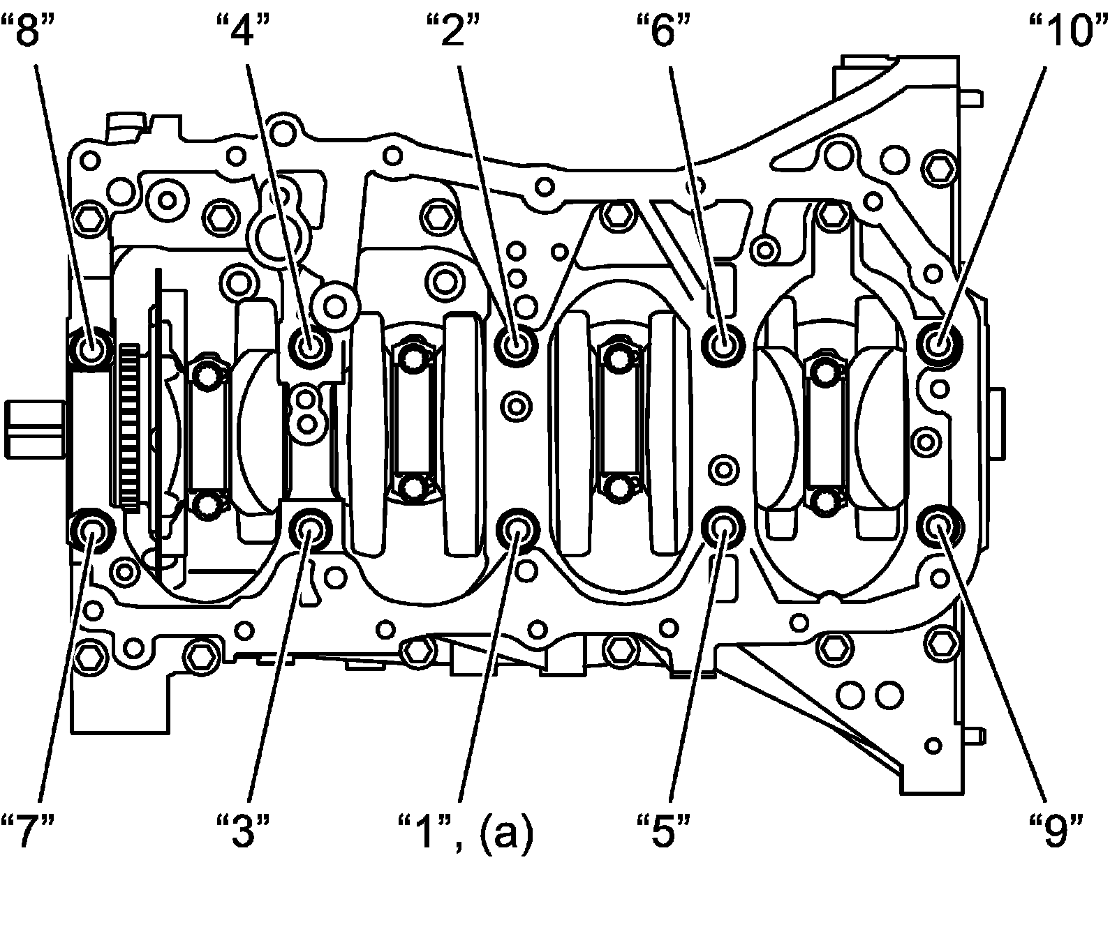
Crank case bolts No. 1





Tighten evenly and gradually 50 Nm (5.1 kgf-m, 37.0 lbf-ft)
Loosen all bolts in reverse numerical order 0 Nm (0 kgf-m, 0 lbf-ft)
Retighten 20 Nm (2.0 kgf-m, 15.0 lbf-ft)
Retighten 35 Nm (3.6 kgf-m, 26.0 lbf-ft)
Retighten 40°
Retighten 40°





Crank case bolt No.2 25 Nm (2.5 kg-m, 18.5 lbf-ft)

Connecting Rod
Big-end side clearance
Standard 0.25 - 0.40 mm (0.0099 - 0.0157 in.)
Connecting rod alignment





Limit on bow 0.05 mm (0.0019 in.)
Limit on twist 0.10 mm (0.0039 in.)
Connecting rod bearing clearance
Standard 0.045 - 0.063 mm (0.0018 - 0.0024 in.)
Limit 0.065 mm (0.0025 in.)

Crankshaft pulley 150 Nm (15.3 kgf-m, 111 ft lb)