lemon-mirror:
Home >> Suzuki >> 2009 >> SX4 2WD L4-2.0L >> Repair and Diagnosis >> Powertrain Management >> Ignition System >> Relays and Modules - Ignition System >> Ignition Control Module >> Service and Repair

Ignition Control Module: Service and Repair

Ignition Coil Assembly (Including ignitor) Removal and Installation

Removal
1. Disconnect negative cable at battery.
2. Remove air cleaner case referring to Air Cleaner Assembly Removal and Installation.
3. Disconnect ignition coil coupler.




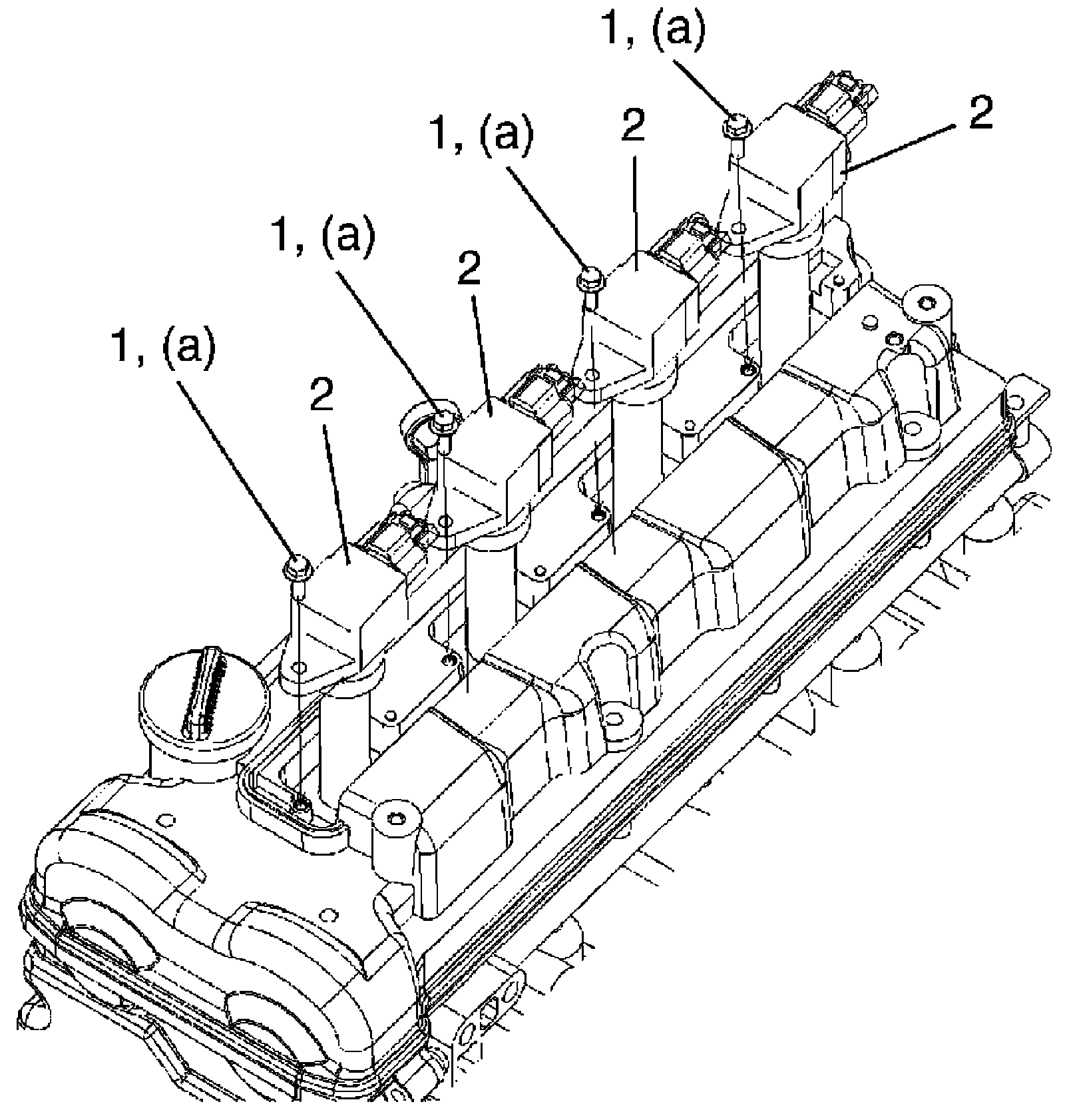
4. Remove ignition coil bolts (1), and then pull out ignition coil assembly (2).

Installation
Reference: Ignition Coil Assembly (Including ignitor) Inspection
1. Install ignition coil assembly (2).
2. Tighten ignition coil bolts (1) to specified torque, and then connect ignition coil coupler.

Tightening torque
Ignition coil bolt a: 6.5 Nm (0.65 kgf-m, 5.0 ft. lbs.)




3. Install air cleaner case referring to Air Cleaner Assembly Removal and Installation.
4. Connect negative cable to battery.