lemon-mirror:
Home >> Suzuki >> 2009 >> SX4 2WD L4-2.0L >> Repair and Diagnosis >> Powertrain Management >> Computers and Control Systems >> Fuel Level Sensor >> Testing and Inspection

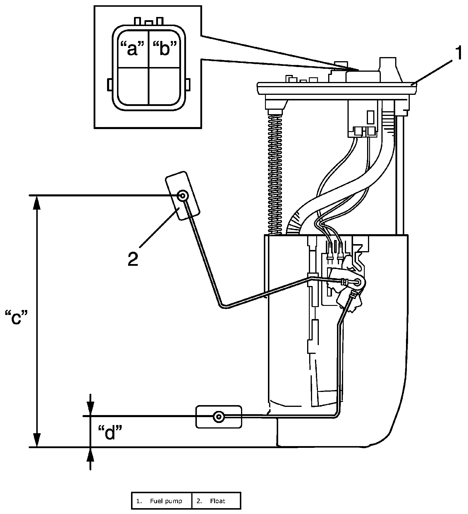
Fuel Level Sensor: Testing and Inspection

FUEL LEVEL SENSOR INSPECTION

Reference: Fuel Level Sensor Removal and Installation
^ Check that resistance between terminals "a" and "b" of fuel level sensor changes with change of float position.
^ Check resistance between terminals "a" and "b" at each float position in the following. If the measured value is out of specification, replace.

Fuel level sensor specifications