lemon-mirror:
Home >> Suzuki >> 2007 >> XL-7 2WD V6-3.6L >> Repair and Diagnosis >> Powertrain Management >> Computers and Control Systems >> Body Control Module >> Diagrams

Body Control Module: Diagrams

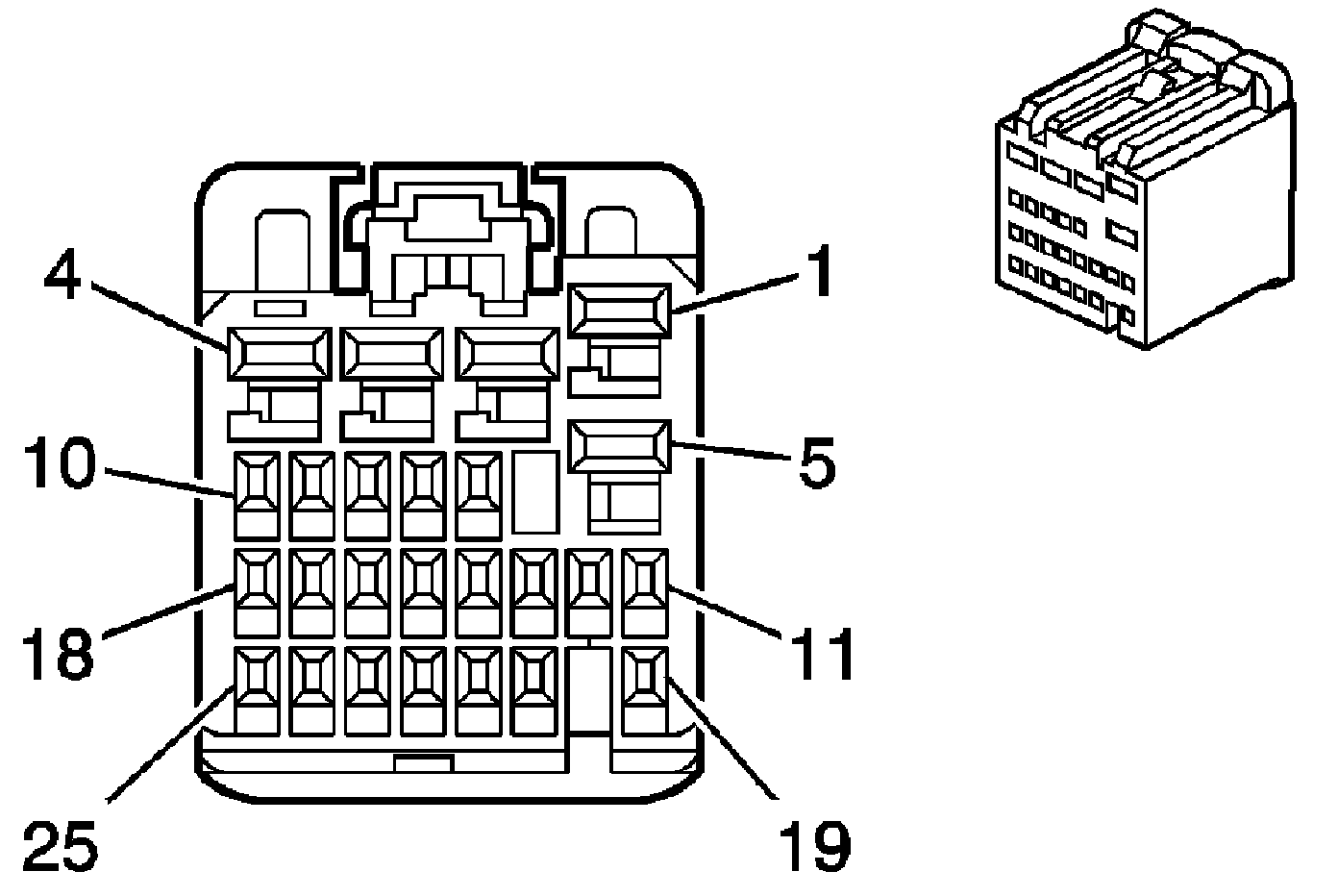
Body Control Module (BCM) X1

Body Control Module (BCM) X1:






Connector Part Information
OEM: HITPB-27-AL-M
Service: 88988838
Description: 27-Way F 0.64 Unsealed (L-GN)

Terminal Part Information
Terminal/Tray: SNAC3-A0 21T-M0.64/20
Core/Insulation Crimp: J/J
Release Tool/Test Probe: 12094429/J-35616-64B (L-BU)

Body Control Module (BCM) X1 (Part 1):





Body Control Module (BCM) X1 (Part 2):






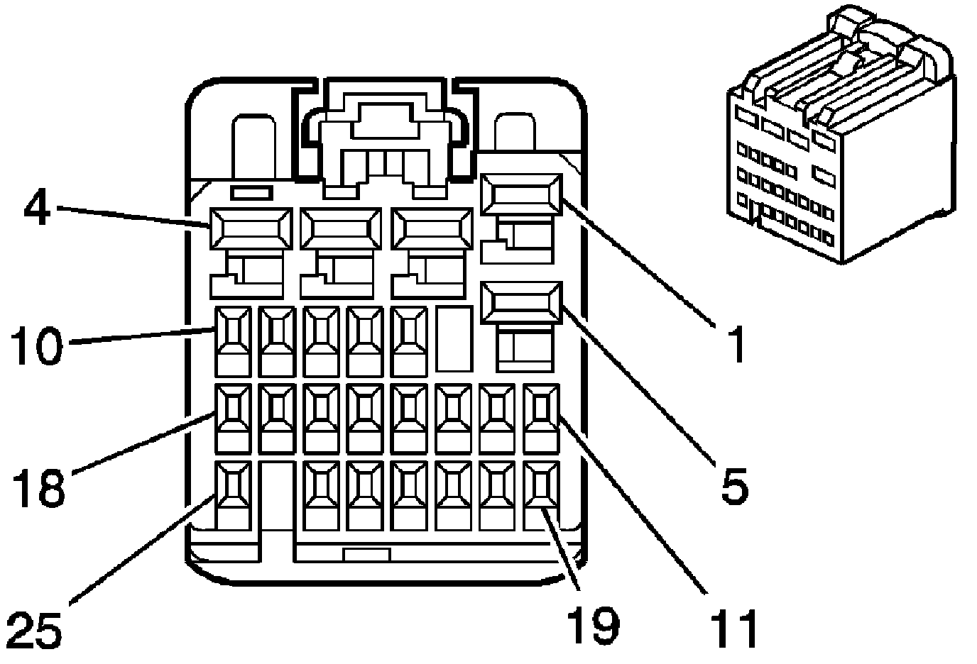
Body Control Module (BCM) X2

Body Control Module (BCM) X2:






Connector Part Information
OEM: HITPB-25-B-S
Service: 88988839
Description: 25-Way F Receptacle 0.64 2.8
Unsealed (WH)

Terminal Part Information
Pins: 1-3
Terminal/Tray: SNAC-A061T-M2.8/20
Core/Insulation Crimp: E/A
Release Tool/Test Probe: 12094429/J-35616-4A (PU)
Pins: 8, 11-12, 17, 21
Terminal/Tray: SNAC3-A021T-M0.64/20
Core/Insulation Crimp: J/J
Release Tool/Test Probe: 12094429/J-35616-64B (L-BU)

Body Control Module (BCM) X2:






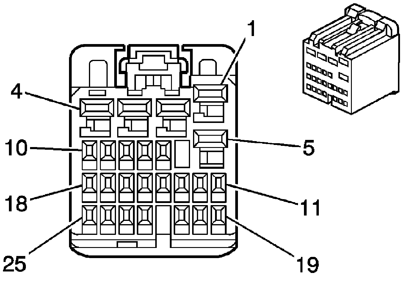
Body Control Module (BCM) X3

Body Control Module (BCM) X3:






Connector Part Information
OEM: HITPB-25-C-LE
Service: 88988840
Description: 25-Way F HIT Series (L-BU)

Terminal Part Information
Pins: 1-3, 5
Terminal/Tray: SNAC-A061T-M2.8/20
Core/Insulation Crimp: E/A
Release Tool/Test Probe: 12094429/J-35616-4A (PU)
Pins: 7-19, 21-22
Terminal/Tray: SNAC3-A0 21T-M0.64/20
Core/Insulation Crimp: J/J
Release Tool/Test Probe: 12094429/J-35616-64B (L-BU)

Body Control Module (BCM) X3 (Part 1):





Body Control Module (BCM) X3 (Part 2):






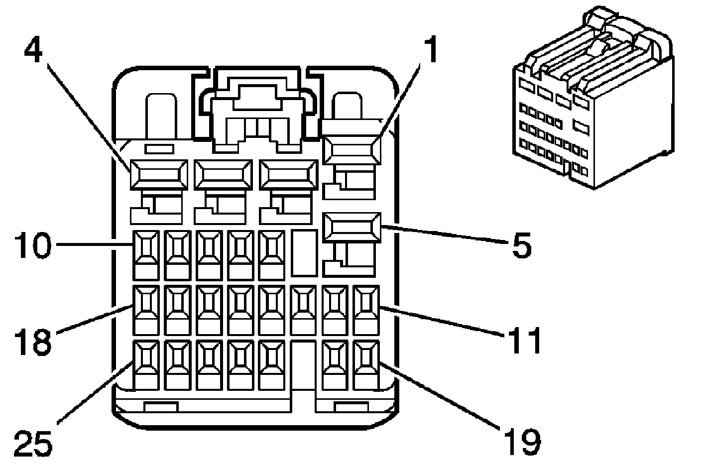
Body Control Module (BCM) X4

Body Control Module (BCM) X4:






Connector Part Information
OEM: HITPB-25-D-K
Service: 88988841
Description: 25-Way F Receptacle 0.64 2.8 (BK)

Terminal Part Information
Pins: 1-5
Terminal/Tray: See Terminal Repair Kit
Core/Insulation Crimp: See Terminal Repair Kit
Release Tool/Test Probe: See Terminal Repair Kit
Pins: 7, 9-13, 15-17, 19, 21-23
Terminal/Tray: SNAC3-A0 21T-M0.64/20
Core/Insulation Crimp: J/J
Release Tool/Test Probe: 12094429/J-35616-64B (L-BU)

Body Control Module (BCM) X4:






Body Control Module (BCM) X5

Body Control Module (BCM) X5:






Connector Part Information
OEM: HITPB-25-E-N
Service:88988837
Description: 25-Wat F Receptacle Unsealed 0.64 2.8 (BN)

Terminal Part Information
Pins: 1-2, 4-5
Terminal/Tray: See Terminal Repair Kit
Core/Insulation Crimp: See Terminal Repair Kit
Release Tool/Test Probe: See Terminal Repair Kit
Pins: 6, 8-10, 11, 14-16, 18, 20-21, 23-24
Terminal/Tray: SNAC3-A021T-M0.64/20
Core/Insulation Crimp: J/J
Release Tool/Test Probe: 12094429/J-35616-64B (L-BU)

Body Control Module (BCM) X4 (Part 1):





Body Control Module (BCM) X4 (Part 2):






Body Control Module (BCM) X6

Body Control Module (BCM) X6:






Connector Part Information
OEM: HITPB-25-F-PK
Service: 88988842
Description: 25-WAY F Receptacle Unsealed 0.64 2.8 (PK)

Terminal Part Information
Pins: 1-2
Terminal/Tray: See Terminal Repair Kit
Core/Insulation Crimp: See Terminal Repair Kit
Release Tool/Test Probe: See Terminal Repair Kit
Pins: 8-10, 12, 15, 18
Terminal/Tray: SNAC3-A0 21T-M0.64/20
Core/Insulation Crimp: J/J
Release Tool/Test Probe: 12094429/J-35616-64B (L-BU)

Body Control Module (BCM) X6:






Body Control Module (BCM) X7

Body Control Module (BCM) X7:






Connector Part Information
OEM: HITPB-28-G-H
Service: 88988806
Description: 28-Way F Receptacle 0.64 (GY)

Terminal Part Information
Terminal/Tray: SNAC3-A0 21T-M0.64/20
Core/Insulation Crimp: J/J
Release Tool/Test Probe: 12094429/J-35616-64B (L-BU)

Body Control Module (BCM) X7: