lemon-mirror:
Home >> Suzuki >> 2007 >> XL-7 2WD V6-3.6L >> Repair and Diagnosis >> Diagrams >> Exploded Views >> Engine >> Oil Pan Assembly

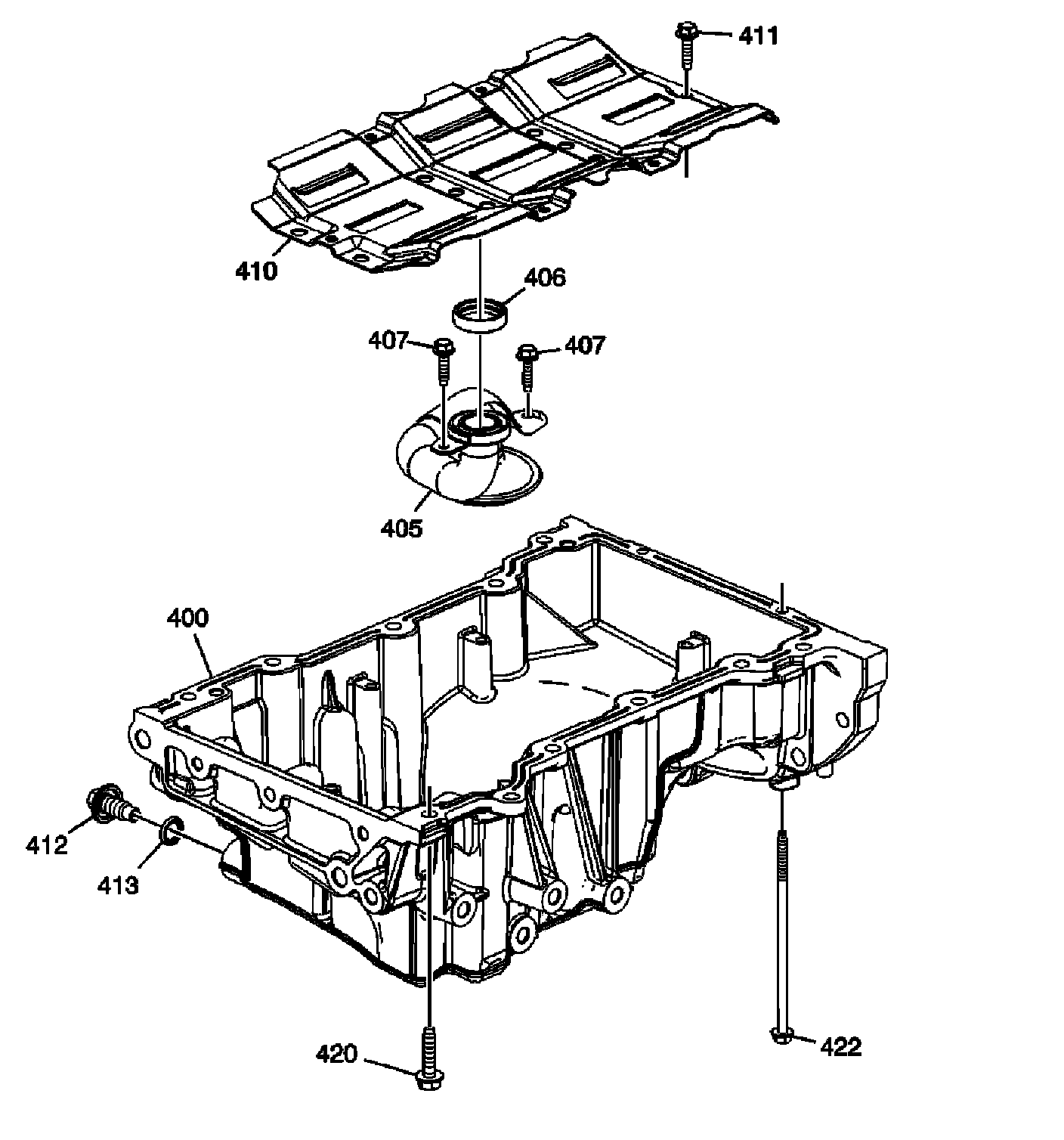
Oil Pan Assembly