lemon-mirror:
Home >> Suzuki >> 2007 >> SX4 2WD L4-2.0L >> Repair and Diagnosis >> Powertrain Management >> Computers and Control Systems >> Transmission Position Sensor/Switch >> Adjustments

Transmission Position Sensor/Switch: Adjustments

Transmission Range Sensor (Shift Switch) Inspection and Adjustment

Inspection
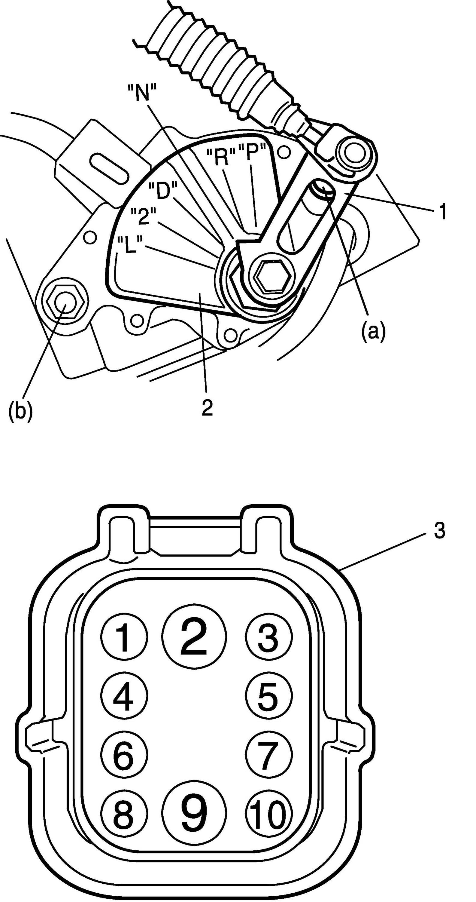
1. Disconnect transmission range sensor connector (1).
2. Check that continuity exists at terminals as shown in the following figure by moving select lever. If check result is not as specified, adjust switch.





Adjustment
1. Shift manual shift lever (1) to "N" range.
2. Connect ohmmeter between 6 and 10 terminals of disconnected transmission range sensor connector (3).
3. Turn transmission range sensor (2) gradually to find position where ohmmeter reading indicates continuity. Then fix transmission range sensor (2) at that position by tightening bolts and nut to specified torque.
Tightening torque
Transmission range sensor bolt a: 25 Nm (2.5 kgf-m, 18.0 ft. lbs.)
Transmission range sensor nut b: 7.5 Nm (0.75 kgf-m, 5.5 ft. lbs.)
4. Connect transmission range sensor connector (3).
5. Check that engine starts in "N" and "P" ranges but it doesn't start in "D", "3", "2", "L" or "R" range. Also, check that back-up light turn ON in "R" range.