lemon-mirror:
Home >> Suzuki >> 2007 >> SX4 2WD L4-2.0L >> Repair and Diagnosis >> Heating and Air Conditioning >> Control Assembly >> Service and Repair

Control Assembly: Service and Repair

HVAC Control Unit Removal and Installation

Reference: HVAC Control Unit Components

Removal
1. Disconnect negative (-) cable at battery.
2. Remove steering column hole cover from instrument panel.
3. Remove audio unit from instrument panel referring to Audio Unit Removal and Installation (If Equipped).




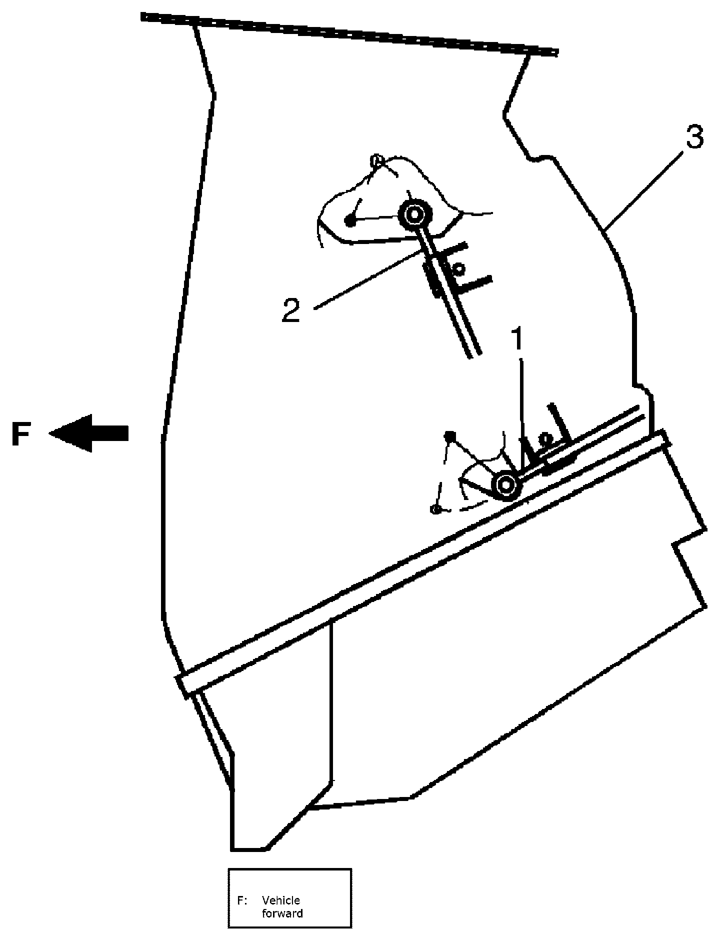
4. Remove driver side foot duct (1) from HVAC unit by removing screw (2).




5. Disconnect temperature control cable (1) and air flow control cable (2) from HVAC unit (3).
6. Remove center garnish from instrument panel.
7. Remove HVAC control unit from instrument panel.
8. Disconnect connectors from HVAC control unit.

Installation
Reference: Blower Speed Selector Inspection
Reference: Air Intake Selector Inspection
Reverse removal procedure noting the following instructions.
^ Connect temperature control cable and air flow control cable of HVAC control unit to links of HVAC unit.




a. Set air flow selector (1) to "DEF" position and temperature selector (2) to "MAX HOT" position.




b. Move temperature control lever (1) to "MAX HOT" position "a", then fix temperature control inner cable (2) to pin of temperature control lever and fix outer cable (3) to cable lock clamp (4).




c. Move air flow control plate (1) to "DEF" position "b", then fix air flow control inner cable (2) to pin of air flow control plate and fix outer cable (3) to cable lock clamp (4).

NOTE: After installing control cables, make sure that control lever and plate move smoothly and stop at proper position.

^ Make sure that air flow outlet changes correctly as air flow selector is changed.