lemon-mirror:
Home >> Suzuki >> 2005 >> XL-7 2WD V6-2.7L >> Repair and Diagnosis >> Powertrain Management >> Computers and Control Systems >> Fuel Level Sensor >> Testing and Inspection

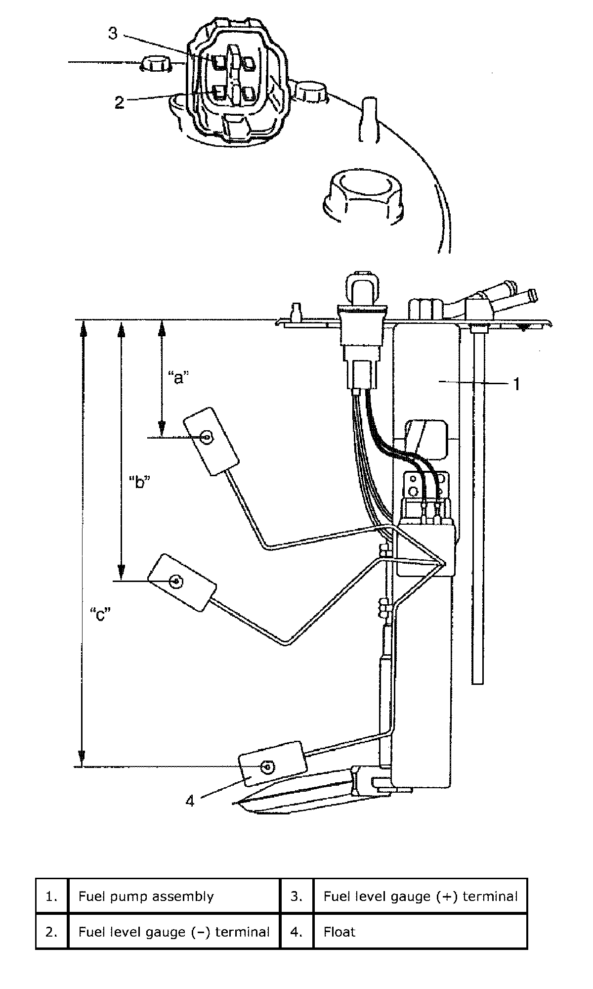
Fuel Level Sensor: Testing and Inspection

FUEL LEVEL SENSOR (SENDER GAUGE) INSPECTION




Remove fuel pump assembly referring to Fuel Pump Removal and Installation. Use an ohmmeter to confirm that resistance of sender gauge unit changes with change of float position.




If measured value is out of specification, replace fuel sender gauge.