lemon-mirror:
Home >> Suzuki >> 2005 >> Aerio L4-2.3L >> Repair and Diagnosis >> Diagrams >> Exploded Views >> Door Locks >> Front Door Lock Assembly Components

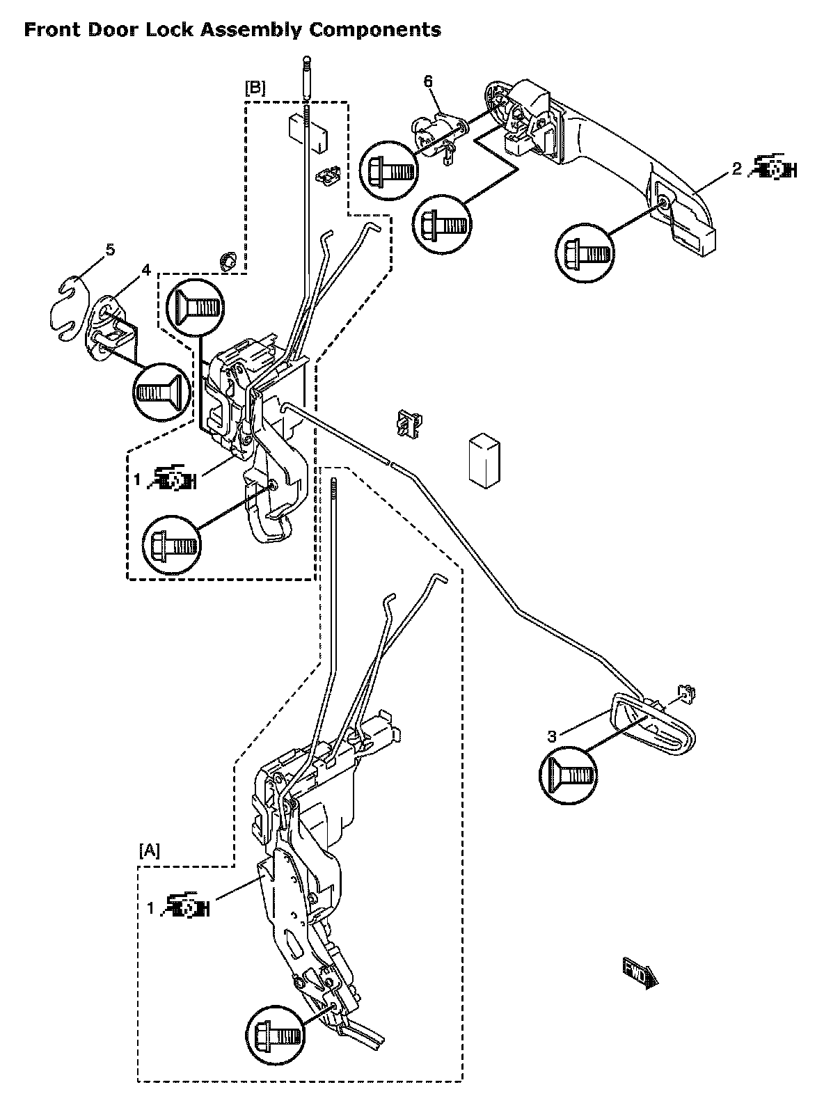
Front Door Lock Assembly Components

Front Door Lock Assembly Components Part 1:



Front Door Lock Assembly Components Part 2: