lemon-mirror:
Home >> Suzuki >> 2002 >> XL-7 Plus 2WD V6-2.7L >> Repair and Diagnosis >> Body and Frame >> Locks >> Power Locks >> Power Door Lock Control Module >> Testing and Inspection

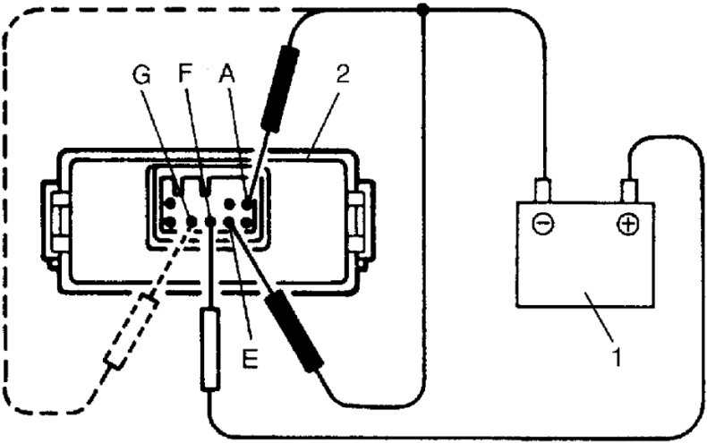
Power Door Lock Control Module: Testing and Inspection

Power Door Lock Controller (Without Keyless Entry System) Inspection

1. Disconnect power door lock controller coupler.
2. Connect (+) wire and (-) wire of 12 V battery (1) to terminal "A", "E" and "F" as shown in figure.
3. Disconnect cord from terminal "E" and connect it to terminal "G".
4. Repeat Steps 2) and 3) several times and if relay operation is heard every time, it means that controller (2) is operating.