lemon-mirror:
Home >> Suzuki >> 2002 >> Aerio L4-2.0L >> Repair and Diagnosis >> Service and Repair

Repair and Diagnosis: Service and Repair






When Using Floor Jack

WARNING: If the vehicle to be jacked up only at the front or rear end, be sure to block the wheels on ground in order to ensure safety. After the vehicle is jacked up, be sure to support it on stands. It is extremely dangerous to do any work on the vehicle raised on jack alone.

CAUTION: Never apply jack against suspension parts (i.e., stabilizer, etc) or vehicle floor, or it may get deformed.




In raising front or rear vehicle end off the floor by jacking, be sure to put the jack against the front end of the engine mounting member (1) or rear suspension frame (2).




To perform service with either front or rear vehicle end jacked up, be sure to place safety stands (1) under shaded positions of vehicle body so that vehicle body is securely supported. And then check to ensure that vehicle body does not slide on safety stands (1) and the vehicle is held stable for safety's sake.




Vehicle Identification Number
The vehicle identification number is attached on the left front top of the instrument panel and punched on the front dash panel in engine room. Refer to figure for detailed VIN cord information and its location.




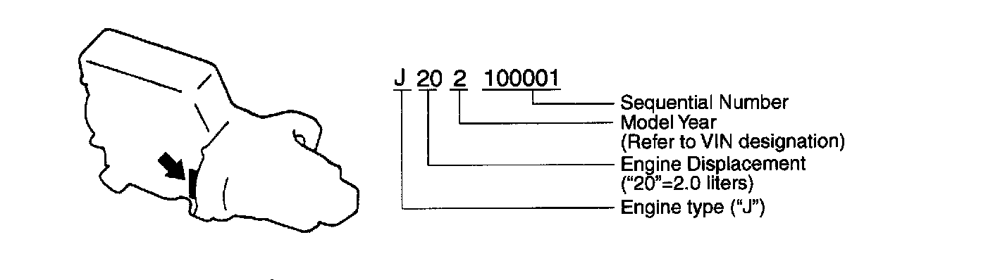
Engine Identification Number
The number is punched on cylinder block.




Transmission Identification Number
The automatic transmission identification number is located on transmission case.