lemon-mirror:
Home >> Suzuki >> 2002 >> Aerio L4-2.0L >> Repair and Diagnosis >> Powertrain Management >> Computers and Control Systems >> Transmission Position Sensor/Switch >> Adjustments

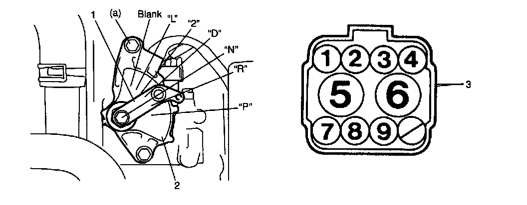
Transmission Position Sensor/Switch: Adjustments

Adjustment
1. Shift manual shift lever (1) to "N" range.
2. Connect ohmmeter between 7 and 9 terminals of disconnected transmission range sensor connector (3).
3. Turn transmission range sensor (2) gradually to find position where ohmmeter reading indicates continuity. Then fix transmission range sensor (2) at that position by tightening bolts to specified torque.
Tightening torque
Transmission range sensor bolts (a): 25 Nm (2.5 kgf-m, 18.0 ft. lbs.)
4. Connect transmission range sensor connector (3).





5. Check that engine starts in "N" and "P" ranges but it doesn't start in "D", "2", "L" or "R" range. Also, check that backup lamp turn ON in "R" range.