lemon-mirror:
Home >> Suzuki >> 2002 >> Aerio L4-2.0L >> Repair and Diagnosis >> Powertrain Management >> Computers and Control Systems >> Main Relay (Computer/Fuel System) >> Testing and Inspection

Main Relay (Computer/Fuel System): Testing and Inspection






Main Relay Inspection

1) Disconnect negative cable at battery.
2) Remove main relay (1) from relay box (2).





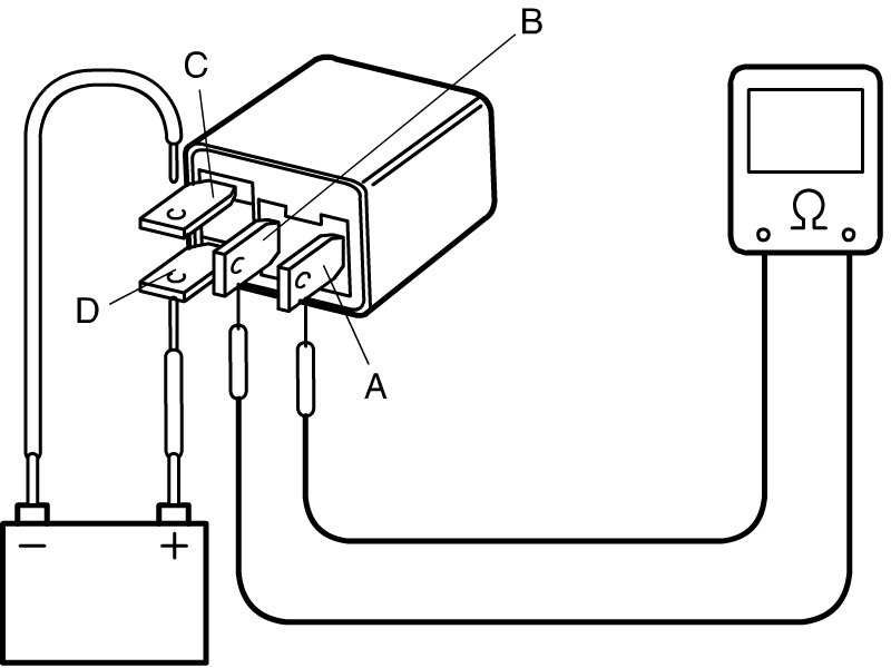
3) Check resistance between each two terminals as follows. If check results are as specified, proceed to next operation check. If not, replace.

Main relay resistance (between terminals "A" and "B")
infinity (Infinity)

Main relay resistance (between terminals "C" and "D")
70 - 110 ohms





4) Check that there is continuity between terminals "A" and "B" when battery is connected to terminals "C" and "D".

If found defective, replace.