lemon-mirror:
Home >> Suzuki >> 2001 >> XL-7 Plus 2WD V6-2.7L >> Repair and Diagnosis >> Powertrain Management >> Computers and Control Systems >> Transmission Position Sensor/Switch >> Adjustments

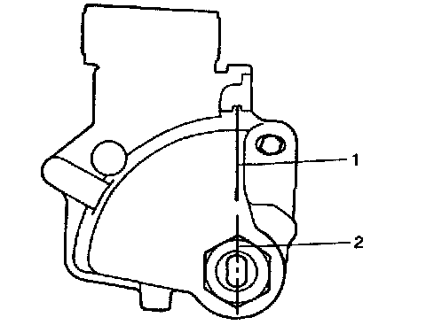
Transmission Position Sensor/Switch: Adjustments

INSPECTION AND ADJUSTMENT





1. Shift select lever to "N" range.
2. Check that center line on manual valve shaft (2) and "N" reference line (1) on switch are aligned. If not, loosen switch bolt and align them.





3. Check that engine starts in "N" and "P" ranges but it doesn't start in "D", "2", "L" or "R" range. Also, check that back-up lamp lights in "R" range.
If faulty condition cannot be corrected by adjustment, disconnect transmission range switch coupler and check that continuity exists as shown by moving select lever.