lemon-mirror:
Home >> Suzuki >> 1998 >> Sidekick JS 2D 2WD L4-1.6L >> Repair and Diagnosis >> Powertrain Management >> Computers and Control Systems >> Air Flow Meter/Sensor >> Testing and Inspection

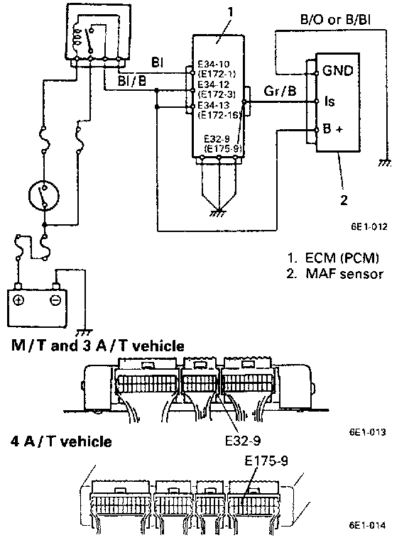
Air Flow Meter/Sensor: Testing and Inspection

MASS AIR FLOW SENSOR (MAF SENSOR)

Inspection

NOTE: Use voltmeter with high-impedance (10 kOhms/V minimum) or digital type voltmeter.





1) Remove ECM (PCM) with bracket, relays, fuse box and wire harness previously outlined.
2) Connect couplers to ECM (PCM).





3) Connect voltmeter to "B+" terminal of MAF sensor coupler disconnected and ground.
4) Turn ignition switch ON and check that voltage is battery voltage.
If not, check if wire harness is open or connection is poor.





5) Turn ignition switch OFF and connect MAF sensor coupler to MAF sensor.
6) Turn ignition switch ON and check voltage at "E32-9" (E175-9) terminal.

Voltage: 1.0 - 1.6 V

7) Start engine and check that voltage is lower than 5V and it rises as engine speed increases.
(Reference data: 1.7 - 2.0 V at specified idle speed)
If check result is not as specified above, cause may lie in wire harness, coupler connection, MAF sensor or ECM (PCM).