lemon-mirror:
Home >> Subaru >> 2013 >> Tribeca F6-3.6L DOHC >> Repair and Diagnosis >> Specifications >> Mechanical Specifications >> Engine >> Timing Cover

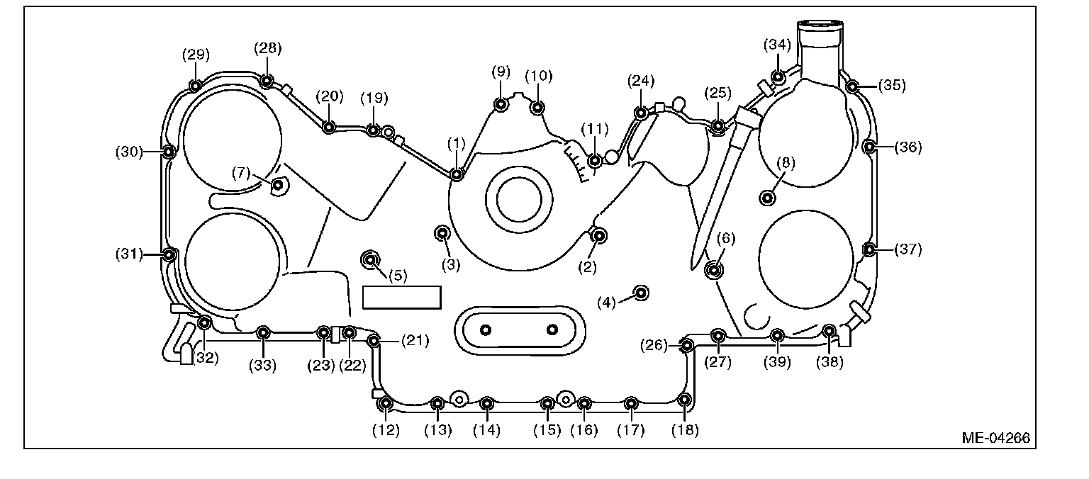
Timing Cover

Chain Cover
Install the chain cover and temporarily tighten the bolts.





Tighten the bolts in the numerical order as shown in the figure.
Tightening torque 10 Nm (1.0 kgf-m, 7.4 ft-lb)