lemon-mirror:
Home >> Subaru >> 2013 >> Outback F4-2.5L DOHC >> Repair and Diagnosis >> Transmission and Drivetrain >> Automatic Transmission/Transaxle >> Locations >> Control Module

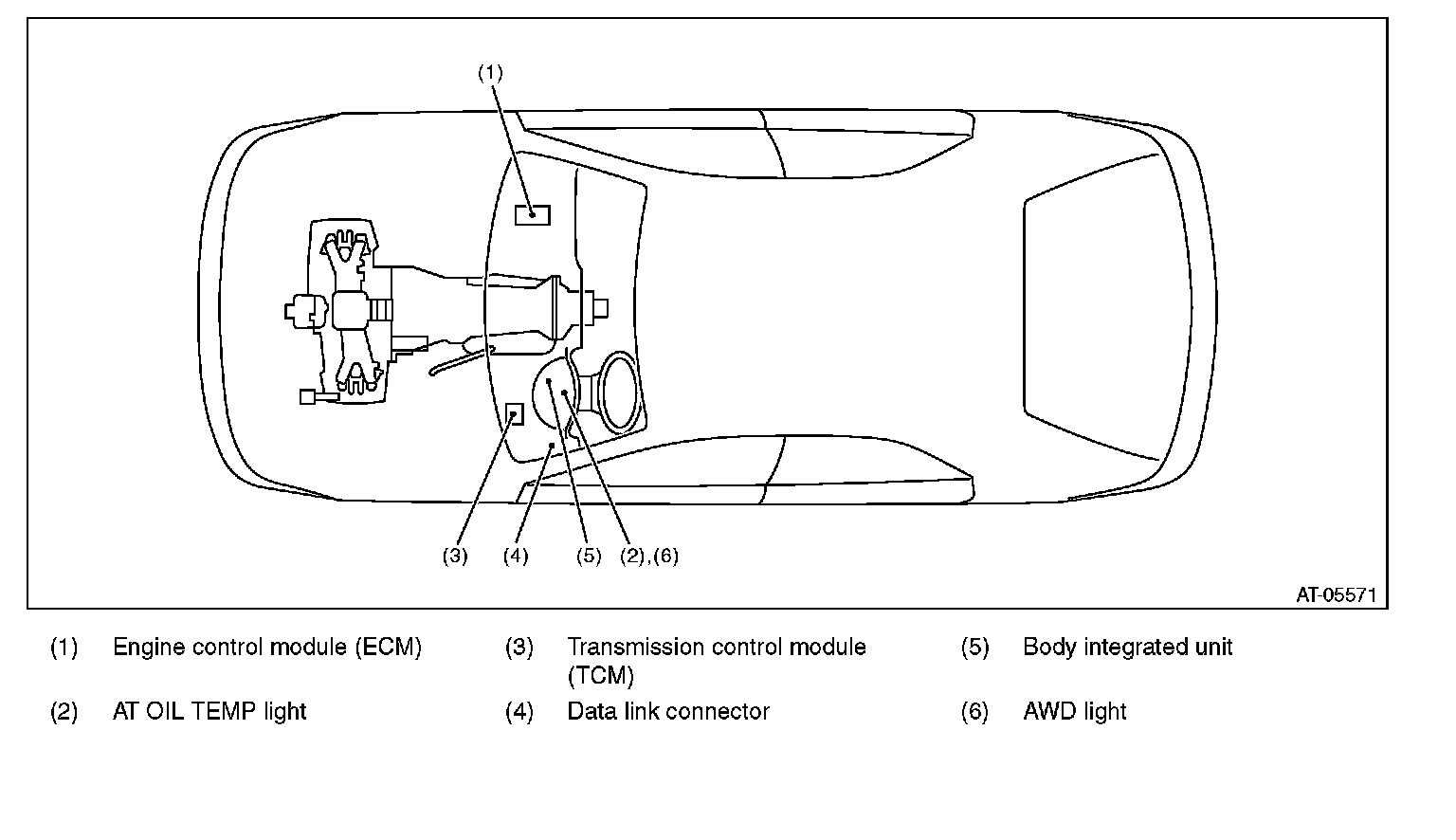
Control Module

CONTROL MODULE