lemon-mirror:
Home >> Subaru >> 2013 >> BRZ F4-2.0L DOHC >> Repair and Diagnosis >> Maintenance >> Alignment >> Service and Repair >> Wheel Alignment Standard

Wheel Alignment Standard



WHEEL ALIGNMENT STANDARD

1. Vehicle height inspection







a. Perform vehicle height inspection after bouncing the vehicle at the corners by large amounts to stabilize the suspension.







CAUTION:
- Perform the inspection while the vehicle is at curb weight (with the spare tire, jack, and service tools loaded and with a full fuel tank).
- These values are for adjusting the wheel alignment and do not indicate the actual vehicle height.


NOTE:
- Dimension A: Center of the head of the front lower arm No. 1 bushing mounting bolt
- Dimension B: Center of the front wheel
- Dimension C: Center of the rear end of the rear lower arm No. 2 bushing mounting bolt threaded portion
- Dimension D: From the front fender arch upper end to the center of the front wheel
- Dimension E: From the rear fender arch upper end to the center of the rear wheel

2. Inspection of camber, caster, and kingpin angle (FRONT)

CAUTION: Perform the inspection while the vehicle is at curb weight (with the spare tire, jack, and service tools loaded and with a full fuel tank).

a. Place the front wheel on the turning radius gauge.







NOTE: Make sure the ground contact surfaces of the front and rear wheels are at the same height.










b. Set the adapter into the center of wheel, and then set the wheel alignment gauge.
c. Measure the camber angle in accordance with the operation manual for wheel alignment gauge.
d. Check whether the measured value is within standard value.
e. Measure the caster angle in accordance with the operation manual for wheel alignment gauge.
f. Check whether the measured value is within standard value.

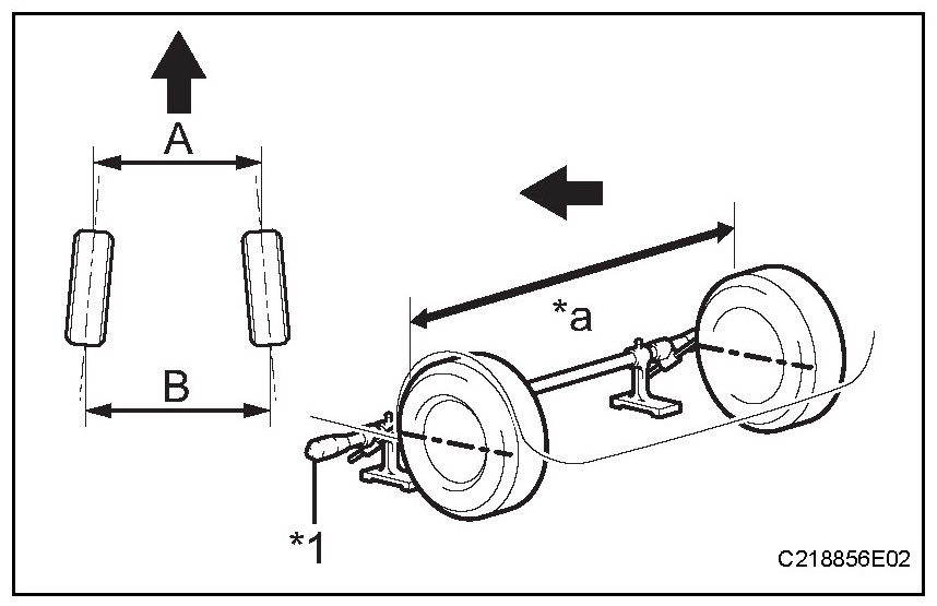
3. Toe-in inspection (FRONT)
a. Bounce the vehicle to stabilize the suspension.
b. Move the vehicle straight 5 m (16.4 ft.) forward by manually pushing it.

CAUTION: If the vehicle has been moved backward, be sure to move it forward by the same distance.










c. Adjust the height of the toe-in gauge pointer so that it is at the same height as the center of the front wheel axis, and set it behind the tire.
d. Place a tread center mark on the back of both front tires, and measure the distance between the marks (dimension B).
e. Move the vehicle forward by pushing it slowly to rotate the front wheels 180°.

CAUTION: Be sure not to rotate more than 180°, and if the wheels have been over-rotated, repeat from the setting up of the toe-in gauge.










f. Measure the distance between the marks at the front of the vehicle (dimension A).
g. Calculate the toe-in.







NOTE: Toe-in = Dimension B - Dimension A

4. Wheel turning angle inspection
a. Set the turning radius gauge.










b. Check the wheel turning angle.







CAUTION:
- Perform the inspection while the vehicle is at curb weight (with the spare tire, jack, and service tools loaded and with a full fuel tank).
- While the vehicle is at curb weight, apply the foot brake using a brake pedal depressor, etc. to prevent the front wheels from rotating during the inspection.
- Remove the stop light fuse to prevent the stop light from illuminating during the inspection.


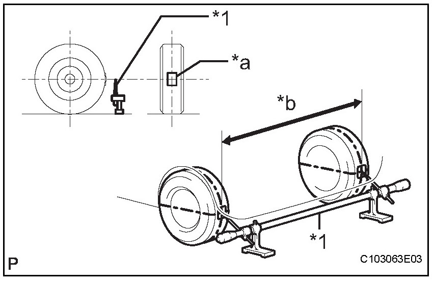
5. Toe-in inspection (REAR)
a. Bounce the vehicle to stabilize it.
b. Move the vehicle straight 5 m (16.4 ft.) forward by manually pushing it.

CAUTION: If the vehicle has been moved backward, be sure to move it forward by the same distance.










c. Adjust the height of the toe-in gauge pointer so that it is at the same height as the center of the rear wheel axis, and set it behind the tire.
d. Place a tread center mark on the back of both rear tires, and measure the distance between the marks (dimension B).
e. Move the vehicle forward by pushing it slowly to rotate the rear wheels 180°.

CAUTION: Be sure not to rotate the tires more than 180°. If the wheels have been over-rotated, repeat from the setting up of the toe-in gauge.










f. Measure the distance between the marks at the front of the tires (dimension A).
g. Calculate the toe-in.

Standard value:
2 ± 3 mm (0.08 ± 0.12 in.)

NOTE: Toe-in = Dimension B - Dimension A

6. Camber inspection (REAR)
a. Lift up the vehicle on a level surface.
b. Set the wheel alignment gauge.
c. Calibrate the wheel alignment gauge.
d. Check the camber.







CAUTION:
- Perform the inspection while the vehicle is at curb weight (with the spare tire, jack, and service tools loaded and with a full fuel tank).
- The limit of difference between the left and right camber values is 45'.
- Remove foreign matter from the axle hub end surface before performing the inspection.


e. Remove the wheel alignment gauge.

7. Rear suspension inspection










a. Inspection of rear suspension member
1. Check the distance between the center of rear suspension arm ASSY No. 2 LH and RH mounting bolts.

Standard value:
445.8 ± 3 mm (17.55 ± 0.12 in.)

NOTE: If it is out of standard value, replace with a new rear suspension member.

b. Inspection of rear suspension arm ASSY No. 2
1. Check the distance between the center of rear suspension arm ASSY No. 2 mounting bolts.

Standard value:
450.9 ± 2 mm (17.75 ± 0.08 in.)

NOTE: If it is out of standard value, replace with a new rear suspension arm ASSY No. 2.

c. Inspection and adjustment of toe-in and camber
1. Inspect the toe-in and camber.
Check the toe-in and camber, and if they are out of standard value, adjust them with the play in the mounting portion of the rear suspension member or that of the upper control arm and rear suspension arm.