lemon-mirror:
Home >> Subaru >> 2013 >> BRZ F4-2.0L DOHC >> Repair and Diagnosis >> Maintenance >> Alignment >> Service and Repair >> Front Wheel Alignment

Front Wheel Alignment


Front wheel alignment

Adjustment

CAUTION:
To ensure proper functioning of the brake system, be sure to perform the neutral position setting of the VSC (VDC) sensor as initialization after alignment adjustment or removal/replacement of suspension or underbody parts.


1. Tire inspection Testing and Inspection





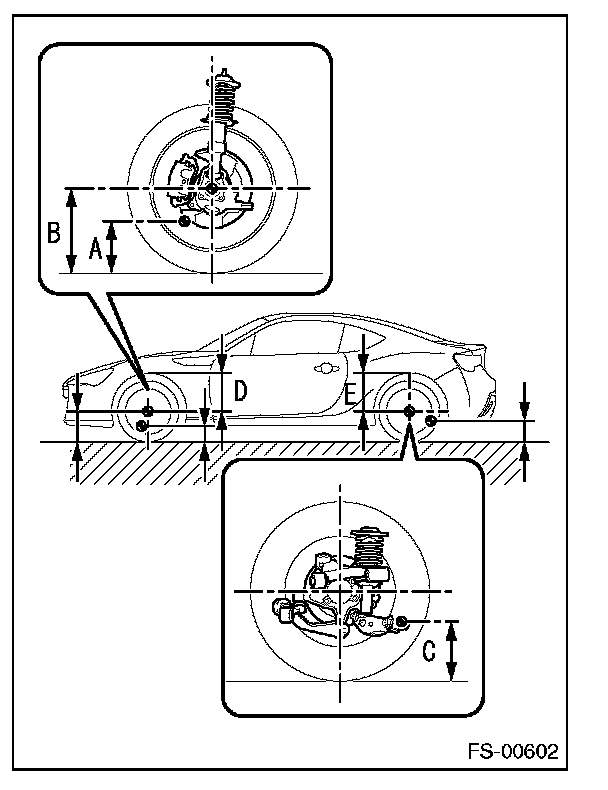
2. Vehicle height inspection
(1) Perform vehicle height inspection after bouncing the vehicle at the corners by large amounts to stabilize the suspension.
Standard value





CAUTION:
^ Perform the inspection while the vehicle is at curb weight (with the spare tire, jack, and service tools loaded and with a full fuel tank).
^ These values are for adjusting the wheel alignment and do not indicate the actual vehicle height.


NOTE:
^ Dimension A ---Center of the head of the front lower arm No. 1 bushing mounting bolt
^ Dimension B ---Center of the front wheel
^ Dimension C ---Center of the rear end of the rear lower arm No. 2 bushing mounting bolt threaded portion
^ Dimension D ---From the front fender arch upper end to the center of the front wheel
^ Dimension E ---From the rear fender arch upper end to the center of the rear wheel

3. Inspection of camber, caster, and kingpin angle

CAUTION:
Perform the inspection while the vehicle is at curb weight (with the spare tire, jack, and service tools loaded and with a full fuel tank).


(1) Place the front wheel on the turning radius gauge.
Standard value





NOTE:
Make sure the ground contact surfaces of the front and rear wheels are at the same height.





(2) Set the adapter into the center of wheel, and then set the wheel alignment gauge.

Captions in illustration





(3) Measure the camber angle in accordance with the operation manual for wheel alignment gauge.
(4) Check whether the measured value is within standard value.
(5) Measure the caster angle in accordance with the operation manual for wheel alignment gauge.
(6) Check whether the measured value is within standard value.
4. Camber adjustment

CAUTION:
Perform the inspection while the vehicle is at curb weight (with the spare tire, jack, and service tools loaded and with a full fuel tank).


(1) Jack up the vehicle, and then remove the front tires.





(2) Loosen the lower mounting bolt and nut of the shock absorber ASSY FR and knuckle.





(3) Replace the upper mounting bolt of the shock absorber ASSY FR and knuckle with a replacement bolt. (Part No.: Flange bolt 14�60 (901000394))

CAUTION:
Insert the bolts from the rear of the vehicle.






(4) Using the lower mounting bolt of the shock absorber ASSY FR and knuckle as a supporting point, adjust the camber with the play in the bolt, steering knuckle bolt hole, and shock absorber ASSY FR bolt hole.

CAUTION:
The limit of difference between the left and right camber values is 0° 30'.


NOTE:
The range adjustable by replacing the bolts is 0°± 45'.





(5) Tighten the two bolts using two new nuts.
Standard value:T=155Nm {1581kgf-cm} {114.3ft-lbf}
(6) Install the front tires.
Standard value:T=120Nm {1224kgf-cm} {88.5ft-lbf}
(7) Lower and remove the jack, and bounce the vehicle several times to stabilize the front suspension.
(8) Check the camber again.
(9) Check the toe-in.
5. Side slip inspection
(1) Check the side slip using a side slip tester.
Standard value: 0±4mm {0±0.16in} (per 1 m {3.3 ft})

CAUTION:
^ Enter onto the side slip tester in the straight ahead position at a speed equal to or less than the walking speed (approx. 4 km/h {2.5 MPH}), and perform the inspection while in neutral.
^ Do not depress the brake pedal on the side slip tester.
^ Do not turn the steering wheel on the side slip tester.


(2) If it is out of standard value, check the wheel alignment.
6. Toe-in inspection
(1) Bounce the vehicle to stabilize the suspension.
(2) Move the vehicle straight 5 m {16.4 ft} forward by manually pushing it.

CAUTION:
If the vehicle has been moved backward, be sure to move it forward by the same distance.






(3) Adjust the height of the toe-in gauge pointer so that it is at the same height as the center of the front wheel axis, and set it behind the tire.

Captions in illustration





(4) Place a tread center mark on the back of both front tires, and measure the distance between the marks (dimension B).
(5) Move the vehicle forward by pushing it slowly to rotate the front wheels 180°.

CAUTION:
Be sure not to rotate more than 180°, and if the wheels have been over-rotated, repeat from the setting up of the toe-in gauge.






(6) Measure the distance between the marks at the front of the vehicle (dimension A).

Captions in illustration





(7) Calculate the toe-in.

Standard value





NOTE:
Toe-in = Dimension B - Dimension A





7. Toe-in adjustment
(1) Measure the length of the threaded portion of the left and right rack ends.
Criteria: Difference between left and right is 2.0 mm {0.079 in} or less
(2) Remove the rack boot clips.
(3) Loosen the tie-rod end lock nuts.
(4) If the difference between the threaded portion of the left and right rack ends is out of standard value, adjust them.
(a) If the measured toe-in deviates toward the outer side, extend the shorter rack end.
(b) If the measured toe-in deviates toward the inner side, shorten the longer rack end.
(c) Check the toe-in again.
(5) Turn the left rack end to right and turn the right rack end to left by an equal amount to adjust the toe-in so that it is within standard value.
Standard value





(6) Tighten the tie-rod end lock nuts.
Standard value:T=85Nm {867kgf-cm} {62.7ft-lbf}

CAUTION:
Temporarily tighten the lock nut while holding the hexagonal part of the steering rack end so that the lock nut and the steering rack end do not turn together, and then tighten the lock nut while holding the width across flat of the tie-rod end.


(7) Using pliers, install the clips on the rack boots.





8. Wheel turning angle inspection
(1) Set the turning radius gauge.
(2) Check the wheel turning angle.
Standard value





CAUTION:
^ Perform the inspection while the vehicle is at curb weight (with the spare tire, jack, and service tools loaded and with a full fuel tank).
^ While the vehicle is at curb weight, apply the foot brake using a brake pedal depressor, etc. to prevent the front wheels from rotating during the inspection.
^ Remove the stop light fuse to prevent the stop light from illuminating during the inspection.


Captions in illustration





9. Confirmation of front tires in the straight-ahead position
10. Mid point setting of the VSC (VDC) sensor