lemon-mirror:
Home >> Subaru >> 2012 >> Tribeca F6-3.6L DOHC >> Repair and Diagnosis >> Accessories and Optional Equipment >> Navigation System >> Navigation Module >> Service and Repair

Navigation Module: Service and Repair

Navigation Body

REMOVAL
1. Disconnect the ground cable from the battery.
2. Slide the driver's seat to the forward position.
3. Remove the cover attachment bolts, and remove the cover.






4. Disconnect the connector.
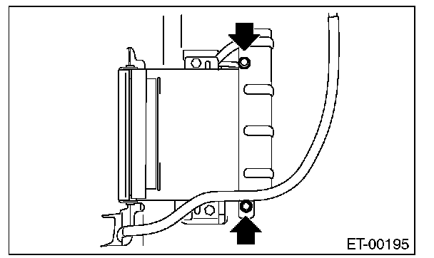
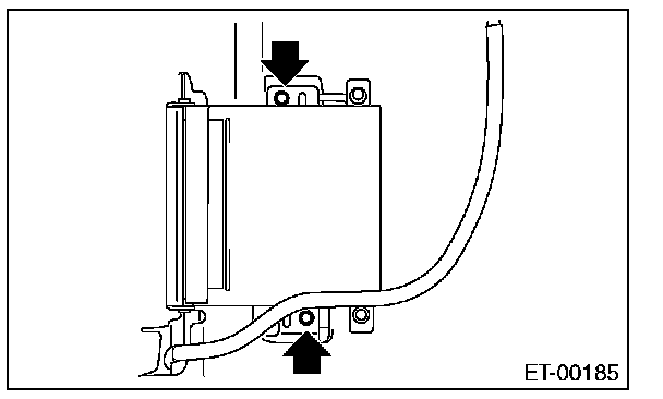
5. Remove the bolts and then remove the navigation unit.






INSTALLATION
Install in the reverse order of removal.

Tightening torque: 4.5 N.m (0.46 kgf-m, 3.32 ft-lb)