lemon-mirror:
Home >> Subaru >> 2012 >> Outback F4-2.5L SOHC >> Repair and Diagnosis >> Diagrams >> Exploded Views >> Exhaust System

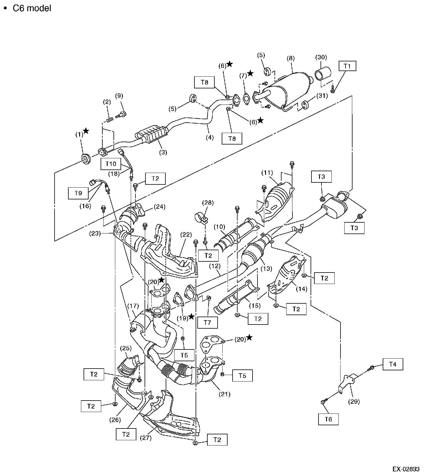
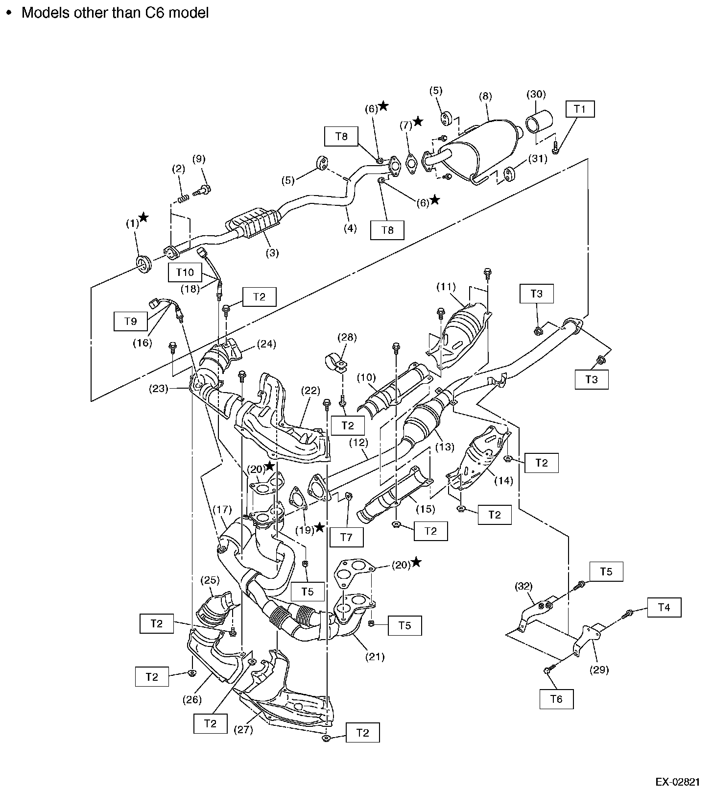
Exhaust System

COMPONENT

^ Models other than C6 model





^ C6 model