lemon-mirror:
Home >> Subaru >> 2012 >> Forester F4-2.5L DOHC >> Repair and Diagnosis >> Powertrain Management >> Computers and Control Systems >> Fuel Level Sensor >> Service and Repair >> Fuel Sub Level Sensor

Fuel Sub Level Sensor

FUEL SUB LEVEL SENSOR

REMOVAL

WARNING: Place "NO OPEN FLAMES" signs near the working area.

CAUTION:
- Be careful not to spill fuel.
- If the fuel gauge indicates that two thirds or more of the fuel is remaining, be sure to drain fuel before starting work to avoid the fuel to spill.


1. Release the fuel pressure.
2. Drain fuel.
3. Disconnect the ground cable from battery.






4. Remove the rear seat cushion.
5. Remove the service hole cover of fuel sub level sensor.






6. Disconnect the connector from the fuel sub level sensor.






7. Disconnect the quick connector of fuel delivery tube (A) and jet pump tube (B).
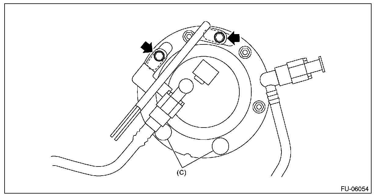
8. Remove the rubber cap (C) from the nut.






9. Remove the bolts and nuts which hold fuel sub level sensor protector and fuel sub level sensor upper plate to the fuel tank.






10 Remove the fuel sub level sensor from the fuel tank.

INSTALLATION

Install in the reverse order of removal while being careful of the following.
- Make sure the sealing portion is free from fuel or foreign matter before installation.
- Align protrusion (A) of the gasket to the position shown in the figure.
- Align protrusion (B) of the fuel sub level sensor to the cutout in the fuel sub level sensor upper plate.
- Tighten the nuts and bolts to the specified torque in the order as shown in the figure.
- After tightening, install the rubber cap (C) at the position shown in the figure.

NOTE:
- Use a new gasket.
- Do not forget to install rubber cap (C).

Tightening torque: 4.4 N.m (0.4 kgf-m, 3.2 ft-lb)