lemon-mirror:
Home >> Subaru >> 2012 >> Forester F4-2.5L DOHC Turbo >> Repair and Diagnosis >> Powertrain Management >> Computers and Control Systems >> Coolant Temperature Sensor/Switch (For Computer) >> Testing and Inspection

Coolant Temperature Sensor/Switch (For Computer): Testing and Inspection

ENGINE COOLANT TEMPERATURE SENSOR

INSPECTION

1. Check that the engine coolant temperature sensor has no deformation, cracks or other damages.
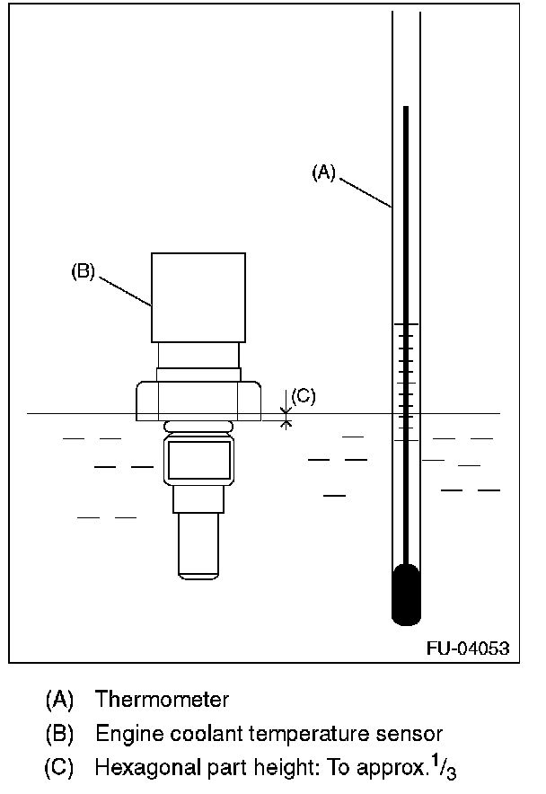
2. Immerse the engine coolant temperature sensor and a thermometer in water.

CAUTION: Take care not to allow water to get into the engine coolant temperature sensor connector. Completely remove any water inside.






3. Raise water temperature gradually, measure the resistance between the engine coolant temperature sensor terminals when the temperature is 20 °C (68 °F) and 80 °C (176 °F).

NOTE: Agitate the water for even temperature distribution.