lemon-mirror:
Home >> Subaru >> 2011 >> Tribeca F6-3.6L DOHC >> Repair and Diagnosis >> Powertrain Management >> Computers and Control Systems >> Air Flow Meter/Sensor >> Locations >> Intake

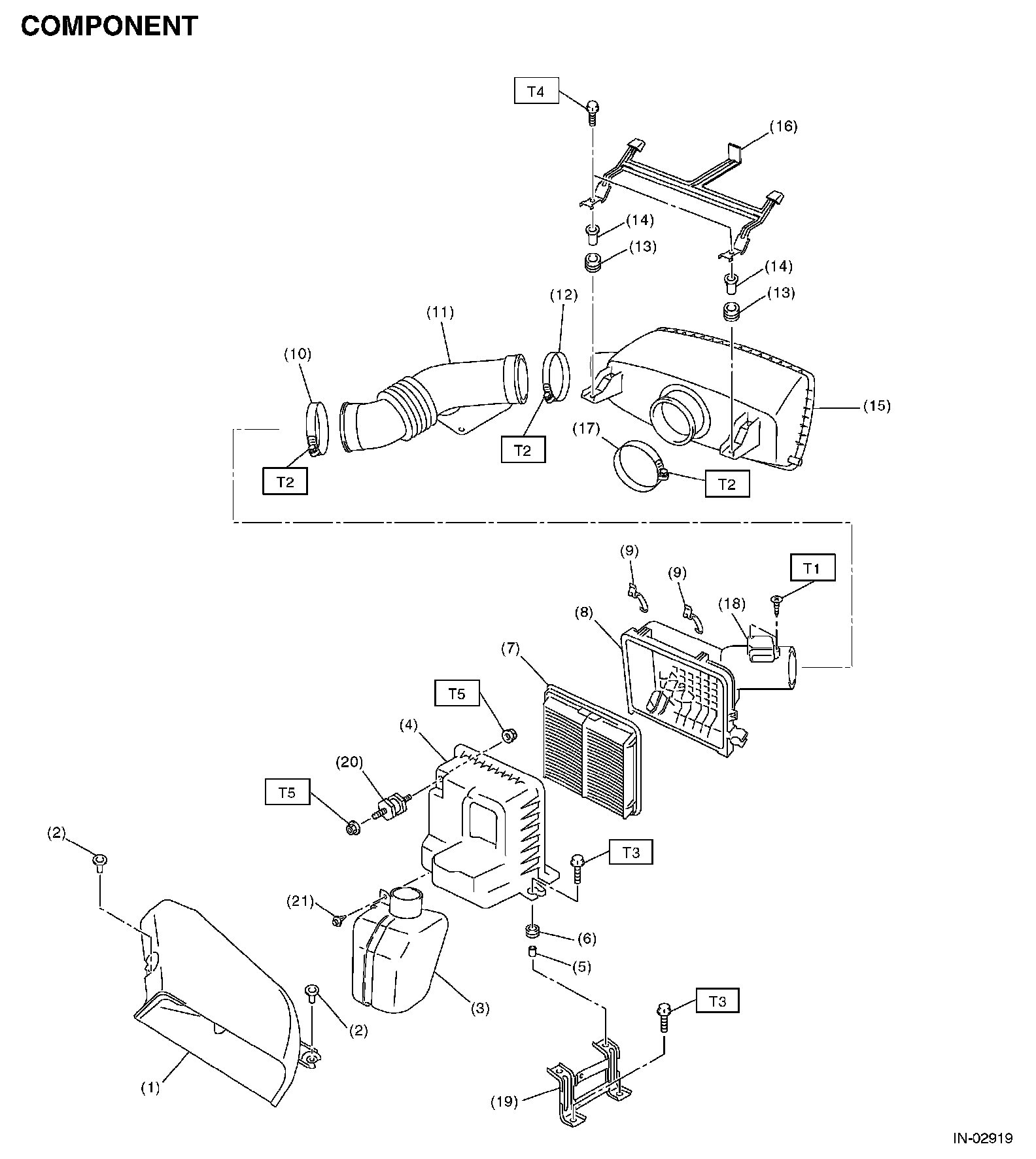
Intake

GENERAL DESCRIPTION

COMPONENT