lemon-mirror:
Home >> Subaru >> 2011 >> Outback Sport F4-2.5L SOHC >> Repair and Diagnosis >> Powertrain Management >> Ignition System >> Spark Plug >> Testing and Inspection

Spark Plug: Testing and Inspection

Spark Plug

INSPECTION
1. Check the spark plug for abnormalities. If defective, replace the spark plug.






2. Check the spark plug electrode and condition of the insulator. If abnormal, check and repair the cause and replace the spark plug.
1. Normal:
Brown to grayish-tan deposits and slight electrode wear indicate correct spark plug heat range.






2. Carbon fouled:
Dry fluffy carbon deposits on insulator and electrode are mostly caused by slow speed driving in the city, weak ignition, too rich fuel mixture, etc.






3. Oil fouled:
Wet black deposits show oil entrance into combustion chamber through worn piston rings or increased clearance between valve guides and valve stems.






4. Overheating:
A white or light gray insulator with black or brown spots and bluish burnt electrodes indicate engine overheating, wrong selection of fuel, or loose spark plugs.






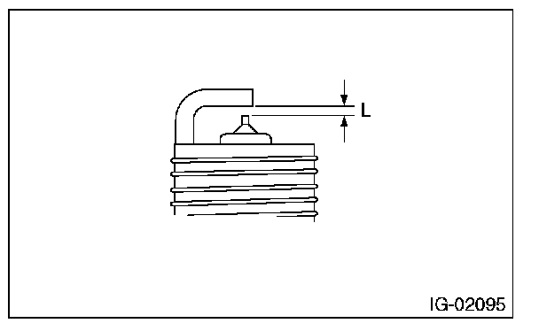
3. Using a nylon brush, etc., clean and remove the carbon or oxide deposits from the spark plug. If deposits are too stubborn, replace the spark plugs. After cleaning the spark plugs, check the spark plug gap "L" using a gap gauge. If it is not within the standard, replace the spark plug.

NOTE:
- Never use a plug cleaner.
- Do not use a metal brush as it may damage the electrode area.

Spark plug gap L: Standard 1.0 - 1.1 mm (0.039 - 0.043 in)