lemon-mirror:
Home >> Subaru >> 2011 >> Outback F6-3.6L DOHC >> Repair and Diagnosis >> Diagrams >> Exploded Views >> Engine >> Engine Lubrication

Engine Lubrication

COMPONENT

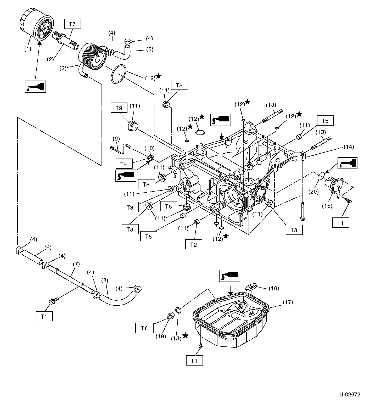
OIL PAN UPPER, OIL COOLER, AND OIL FILTER








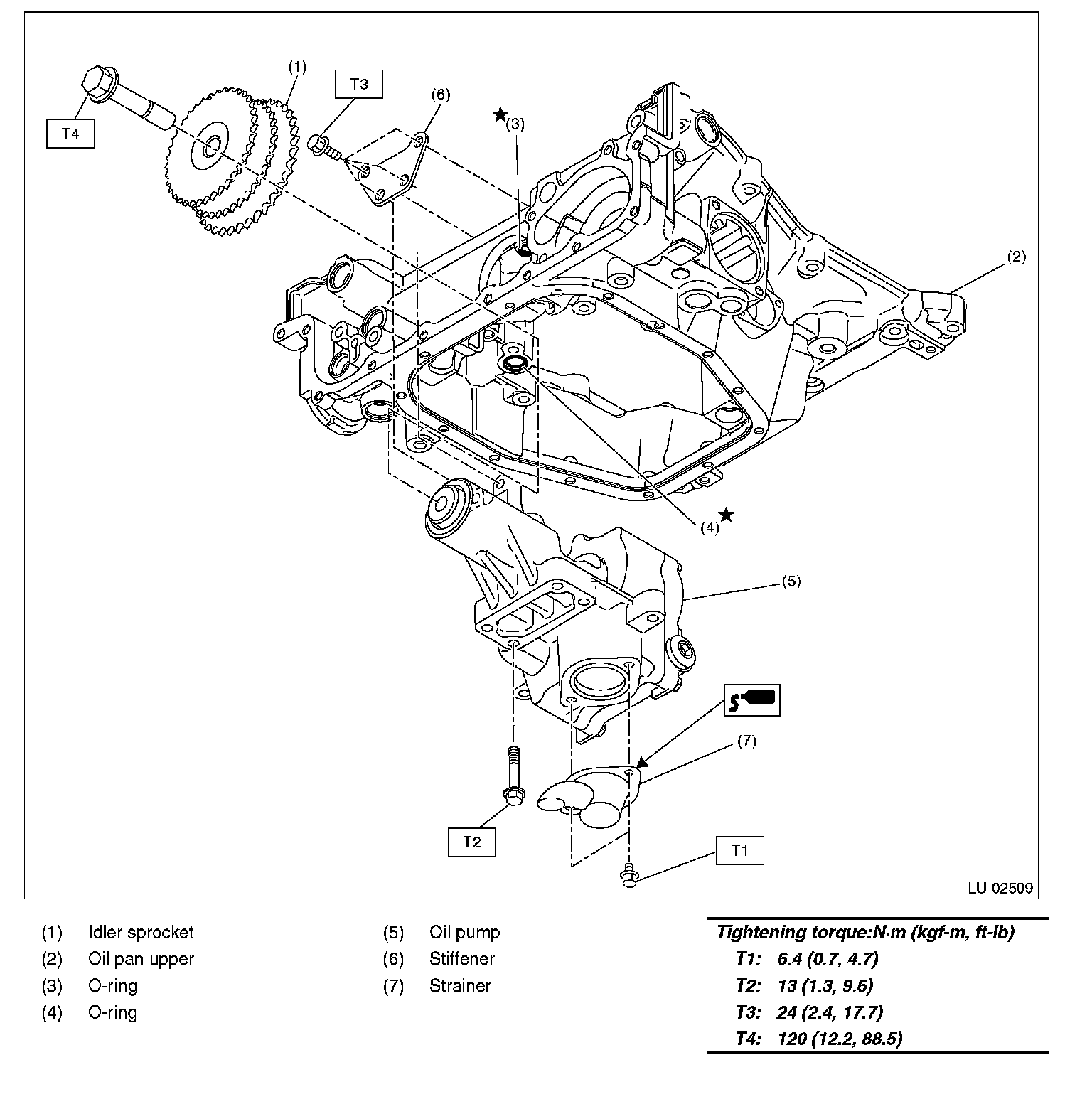
OIL PUMP