lemon-mirror:
Home >> Subaru >> 2011 >> Outback F4-2.5L SOHC >> Repair and Diagnosis >> Specifications >> Mechanical Specifications >> Drive/Propeller Shaft

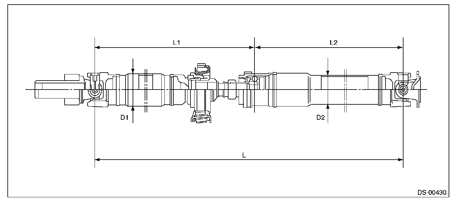
Drive/Propeller Shaft

PROPELLER SHAFT