lemon-mirror:
Home >> Subaru >> 2011 >> Outback F4-2.5L SOHC >> Repair and Diagnosis >> Maintenance >> Filters >> Fuel Filter >> Service and Repair

Fuel Filter: Service and Repair

Fuel Filter

REMOVAL

WARNING: Place "NO OPEN FLAMES" signs near the working area.

CAUTION:
- Be careful not to spill fuel.
- If the fuel gauge indicates that two thirds or more of the fuel is remaining, be sure to drain fuel before starting work to avoid the fuel to spill.
- Be careful not to drop or apply any impact to the fuel pump during work. This may deteriorate its performance.

NOTE:
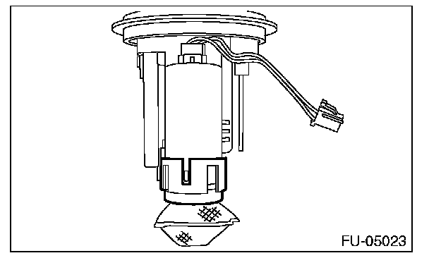
The fuel filter is built in fuel pump assembly.

1. Remove the fuel pump assembly.
2. Remove the fuel level sensor and fuel temperature sensor.
3. Disconnect the connector from the fuel filter assembly.






4. Disengage the claw connecting the fuel filter assembly and fuel chamber assembly, and separate fuel filter assembly and fuel chamber assembly.






5. Remove the fuel pump holder from the fuel filter assembly.






6. Remove the fuel pump from the fuel filter assembly.






INSTALLATION

1. Assemble the gasket spacer (A) and support rubber cushion (B) to the fuel pump, and install the fuel pump to the fuel filter assembly.

NOTE:
- Use a new gasket spacer.
- Use a new support rubber cushion.
- Apply gasoline to the surface of gasket spacer and support rubber cushion.






2. Install the fuel pump holder to the fuel filter assembly.






3. Install the pump module spring (A) to fuel filter assembly, and install the fuel chamber assembly (B).

NOTE:
- Use a new fuel chamber assembly.
- Check that the claw connecting the fuel filter assembly and fuel chamber assembly is securely fastened.










4. Connect the fuel pump connector.






5. Install the fuel level sensor and fuel temperature sensor.
6. Inspect the fuel level sensor.
7. Install the fuel pump assembly.