lemon-mirror:
Home >> Subaru >> 2010 >> Outback F6-3.6L DOHC >> Repair and Diagnosis >> Specifications >> Mechanical Specifications >> Engine >> Timing Components >> System Specifications

System Specifications

Timing Chain Tensioner Bolts 16 Nm (1.6 kgf-m, 11.8 ft-lb)

Crank Pulley Bolt 195 Nm (19.9 kgf-m, 143.8 ft-lb)

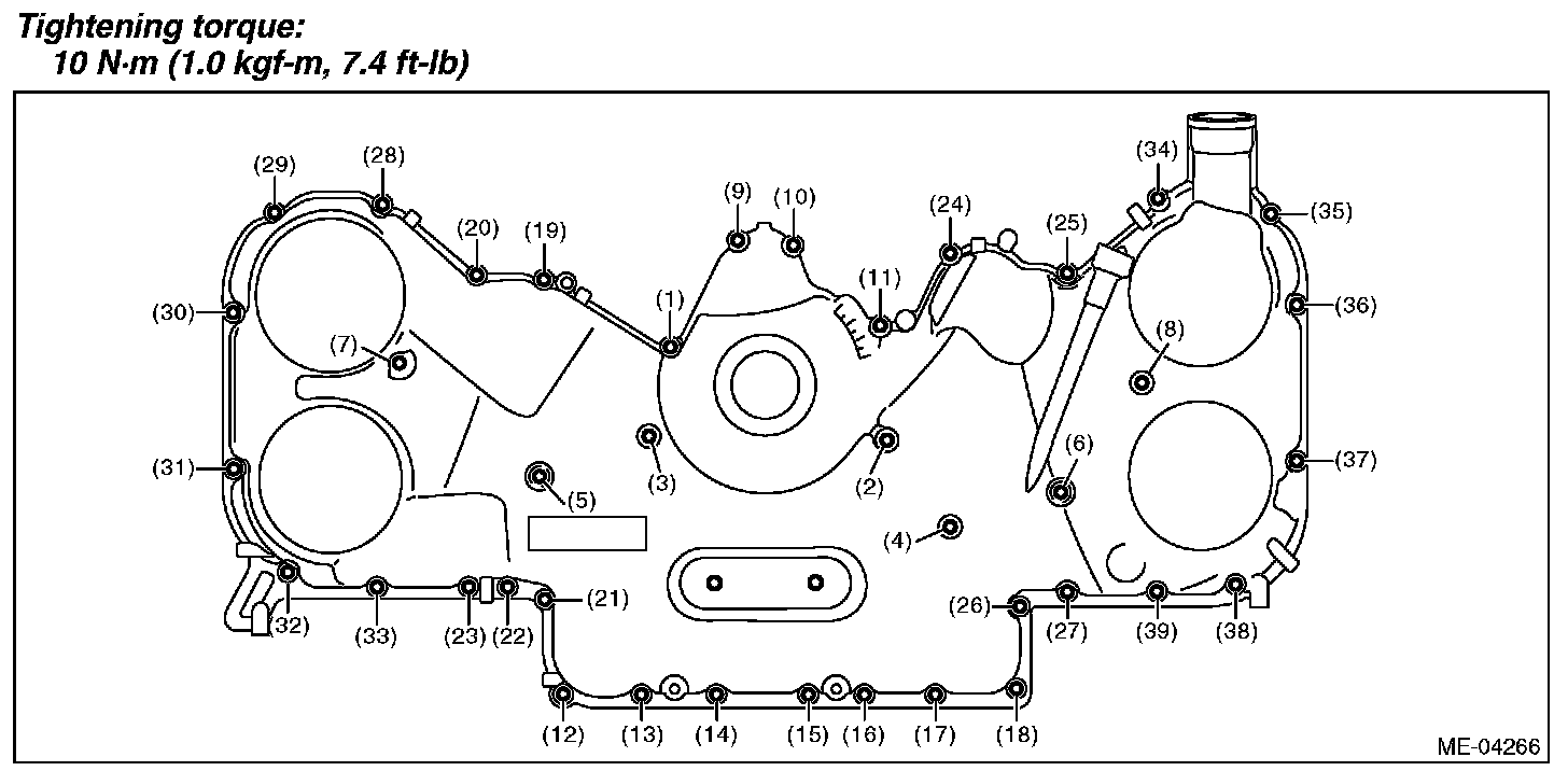
Timing Chain Cover Bolts

CAUTION: Do not install the chain cover installation bolts in wrong place.