lemon-mirror:
Home >> Subaru >> 2010 >> Outback F4-2.5L SOHC >> Repair and Diagnosis >> Specifications >> Mechanical Specifications >> Engine >> Cylinder Block Assembly >> System Specifications

System Specifications

Cylinder Block Inspection
Warping limit 0.025 mm (0.00098 in)
Grinding limit 0.1 mm (0.004 in)
Standard height of cylinder block 201.0 mm (7.91 in)

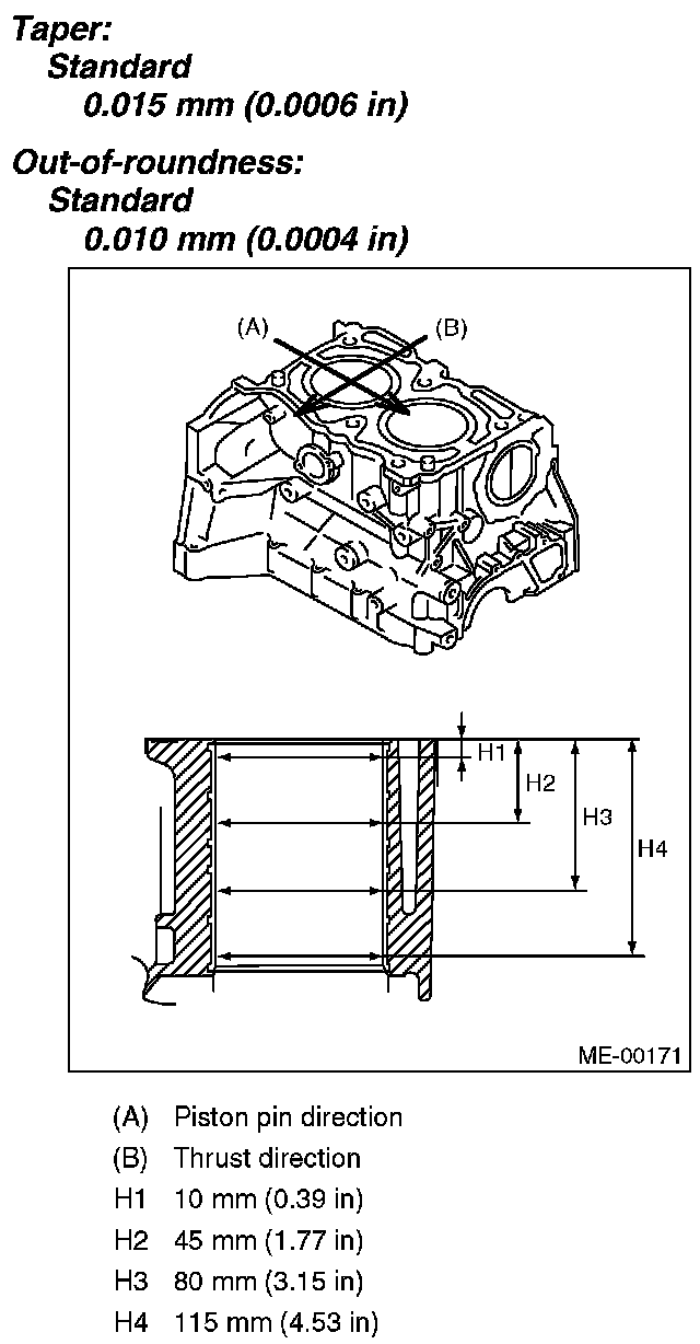
Cylinder and Piston
The cylinder bore size is stamped on the front upper face of the cylinder block
Standard sized pistons are classified into two grades, "A" and "B"
These grades should be used as guidelines in selecting a standard piston











Cylinder to piston clearance at 20° C (68° F) -0.015 - 0.005 mm (-0.00059 - 0.00020 in)
Cylinder inner diameter boring limit to 100.005 mm (3.9372 in)

Crankshaft and Main Bearings














Crankshaft oil clearance (standard) 0.010- 0.030 mm (0.0004-0.0012 in)

Crankshaft Main Bearing Cap Bolts
Please refer to Cylinder Block Assembly Removal and Replacement for bolt tightening specifications and sequence. Service and Repair

Connecting Rods and Bearings














Connecting Rod Cap Fasteners 45 Nm (4.6 kgf-m, 33.2 ft-lb)

Piston Pin
Make sure piston pin can be inserted into piston pin hole by a thumb at 20° C (68° F)





Piston Rings














Crank Sprocket Bolt 24.5 Nm (2.5 kgf-m, 18.1 ft-lb)

Crank Pulley Bolt
First pass 47 Nm (4.8 kgf-m, 34.7 ft-lb)
Final pass Tighten 60° ± 5°