lemon-mirror:
Home >> Subaru >> 2009 >> Tribeca F6-3.6L DOHC >> Repair and Diagnosis >> Body and Frame >> Locks >> Keyless Entry >> Keyless Entry Transmitter >> Keyless Entry Transmitter Battery >> Service and Repair

Keyless Entry Transmitter Battery: Service and Repair

Transmitter

REMOVAL

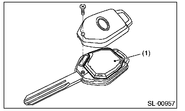
1. Disassemble the keyless transmitter, and take out the transmitter case (1).






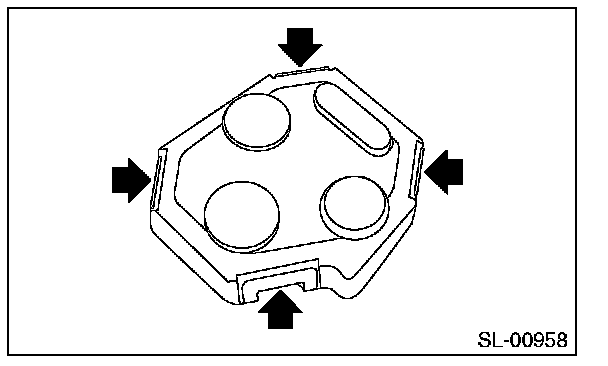
2. Remove the claw, and open the transmitter case.






3. Remove the battery (1) from the transmitter.

NOTE: To prevent static electricity damage to the transmitter printed circuit board, touch the steel area of building with hand to discharge static electricity carried on body or clothes before disassembling the transmitter.






INSTALLATION

Install in the reverse order of removal.