lemon-mirror:
Home >> Subaru >> 2009 >> Outback Sport F4-2.5L SOHC >> Repair and Diagnosis >> Powertrain Management >> Computers and Control Systems >> Main Relay (Computer/Fuel System) >> Testing and Inspection

Main Relay (Computer/Fuel System): Testing and Inspection

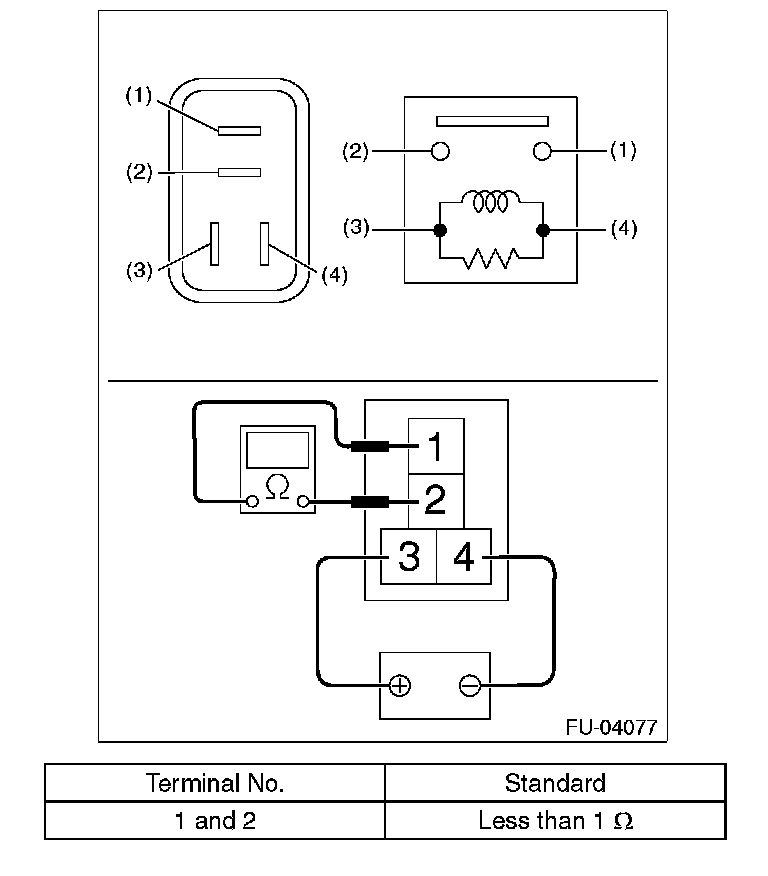
Main Relay

INSPECTION
1. Measure the resistance between main relay terminals.






2. Connect terminal No. 3 to battery positive terminal and terminal No. 4 to the battery ground terminal, and measure the resistance between the main relay terminals.