lemon-mirror:
Home >> Subaru >> 2009 >> Outback F6-3.0L DOHC >> Repair and Diagnosis >> Specifications >> Mechanical Specifications >> Engine >> Cylinder Block Assembly >> System Specifications

System Specifications

Cylinder block
Standard height 202 mm (7.95 in)
Warping limit (Mating surface with cylinder head) Standard 0.02 mm (0.0008 in)
Cylinder inner diameter
Standard
A 89.205 - 89.215 mm (3.5120 - 3.5124 in)
B 89.195 - 89.205 mm (3.5116 - 3.5120 in)
Cylindricality Standard 0.030 mm (0.0012 in)
Out-of -roundness Standard 0.010 mm (0.0004 in)
Piston clearance Standard -0.010 - 0.010 mm (-0.0004 - 0.0004 in)
Cylinder inner diameter boring limit To 89.715 mm (3.5321 in)

Piston
Outer diameter
Standard
A 89.205 - 89.215 mm (3.5120 - 3.5124 in)
B 89.195 - 89.205 mm (3.5116 - 3.5120 in)
0.25 mm (0.0098 in) OS 89.445 - 89.465 mm (3.5215 - 3.5222 in)
0.50 mm (0.0197 in) OS 89.695 - 89.715 mm (3.5313 - 3.5321 in)
Inner diameter of piston pin hole Standard 22.000 - 22.006 mm (0.8661 - 0.8664 in)

Piston pin
Outer diameter Standard 21.994 - 22.000 mm (0.8659 - 0.8661 in)
Standard clearance between piston and piston pin 0.004 - 0.008 mm (0.0002 - 0.0003 in)

Piston ring
Ring closed gap
Top ring Standard 0.20 - 0.35 mm (0.0079 - 0.0138 in)
Second ring Standard 0.35 - 0.50 mm (0.0138 - 0.0197 in)
Oil ring Standard 0.20 - 0.60 mm (0.0079 - 0.0236 in)
Ring groove gap
Top ring Standard 0.040 - 0.080 mm (0.0016 - 0.0031 in)
Second ring Standard 0.030 - 0.070 mm (0.0012 - 0.0028 in)
Oil ring Standard 0.045 - 0.125 mm (0.0018 - 0.0049 in)

Connecting rod
Thrust clearance Standard 0.070 - 0.330 mm (0.0028 - 0.0130 in)
Bearing of large end
Oil clearance Standard 0.016 - 0.043 mm (0.0006 - 0.0017 in)
Bearing size (Thickness at center)
Standard 1.490 - 1.506 mm (0.0587 - 0.0593 in)
0.03 mm (0.0012 in) US 1.509 - 1.513 mm (0.0594 - 0.0596 in)
0.05 (0.0020) US 1.519 - 1.523 mm (0.0598 - 0.0600 in)
0.25 (0.0098) US 1.619 - 1.623 mm (0.0637 - 0.0639 in)
Bushing of small end
Clearance between piston pin and bushing Standard 0 - 0.022 mm (0 - 0.0009 in)

Crankshaft
Crank pin and crank journal
Out-of-roundness 0.005 mm (0.0002 in)
Cylindricality 0.006 mm (0.0002 in)
Crank pin outer diameter
Standard 51.984 - 52.000 mm (2.0466 - 2.0472 in)
0.03 mm (0.0012 in) US 51.954 - 51.970 mm (2.0454 - 2.0461 in)
0.05 mm (0.0020 in) US 51.934 - 51.950 mm (2.0446 - 2.0453 in)
0.25 mm (0.0098 in) US 51.734 - 51.750 mm (2.0368 - 2.0374 in)
Crank journal outer diameter
#1, #3, #5, #7
Standard 63.992 - 64.008 mm (2.5194 - 2.5200 in)
0.03 mm (0.0012 in) US 63.962 - 63.978 mm (2.5182 - 2.5188 in)
0.05 mm (0.0020 in) US 63.942 - 63.958 mm (2.5174 - 2.5180 in)
0.25 mm (0.0098 in) US 63.742 - 63.758 mm (2.5095 - 2.5102 in)
#2, #4, #6
Standard 63.992 - 64.008 mm (2.5194 - 2.5200 in)
0.03 mm (0.0012 in) US 63.962 - 63.978 mm (2.5182 - 2.5188 in)
0.05 mm (0.0020 in) US 63.942 - 63.958 mm (2.5174 - 2.5180 in)
0.25 mm (0.0098 in) US 63.742 - 63.758 mm (2.5095 - 2.5102 in)
Thrust clearance Standard 0.030 - 0.115 mm (0.0012 - 0.0045 in)
Oil clearance Standard 0.010 - 0.030 mm (0.0004 - 0.0012 in)

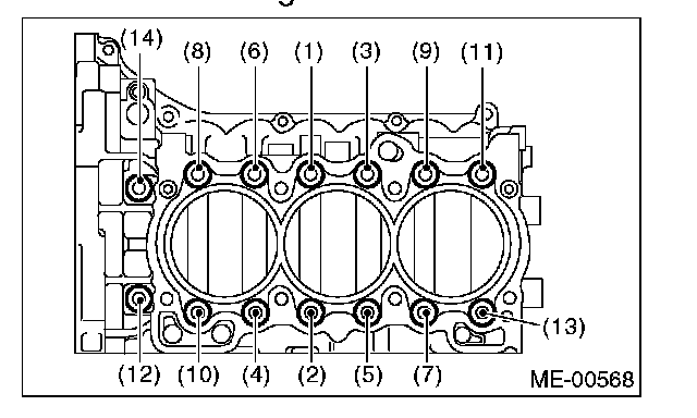
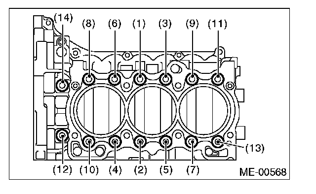
Cylinder block connecting bolts
(1) - (11), (13) 25 N-m (2.5 kgf-m, 18.4 ft-lb)
(12), (14) 20 N-m (2.0 kgf-m, 14.8 ft-lb)





Retighten
(1) - (11), (13) 25 N-m (2.5 kgf-m, 18.4 ft-lb)
(12), (14) 20 N-m (2.0 kgf-m, 14.8 ft-lb)





Tighten all bolts further 90 degrees - 110 degrees





Upper bolt to cylinder block 25 N-m (2.5 kgf-m, 18.4 ft-lb)

Main bearing
Bearing size (Thickness at center)
#1, #3, #5, #7
Standard 1.992 - 2.005 mm (0.0784 - 0.0789 in)
0.03 mm (0.0012 in) US 2.011 - 2.014 mm (0.0792 - 0.0793 in)
0.05 mm (0.0020 in) US 2.021 - 2.024 mm (0.0796 - 0.0797 in)
0.25 mm (0.0098 in) US 2.121 - 2.124 mm (0.0835 - 0.0836 in)
#2, #4, #6
Standard 1.996 - 2.009 mm (0.0786 - 0.0791 in)
0.03 mm (0.0012 in) US 2.015 - 2.018 mm (0.0793 - 0.0794 in)
0.05 mm (0.0020 in) US 2.025 - 2.028 mm (0.0797 - 0.0798 in)
0.25 mm (0.0098 in) US 2.125 - 2.128 mm (0.0837 - 0.0838 in)

Crank Pulley 178 N-m (18.1 kgf-m, 131.3 ft-lb)